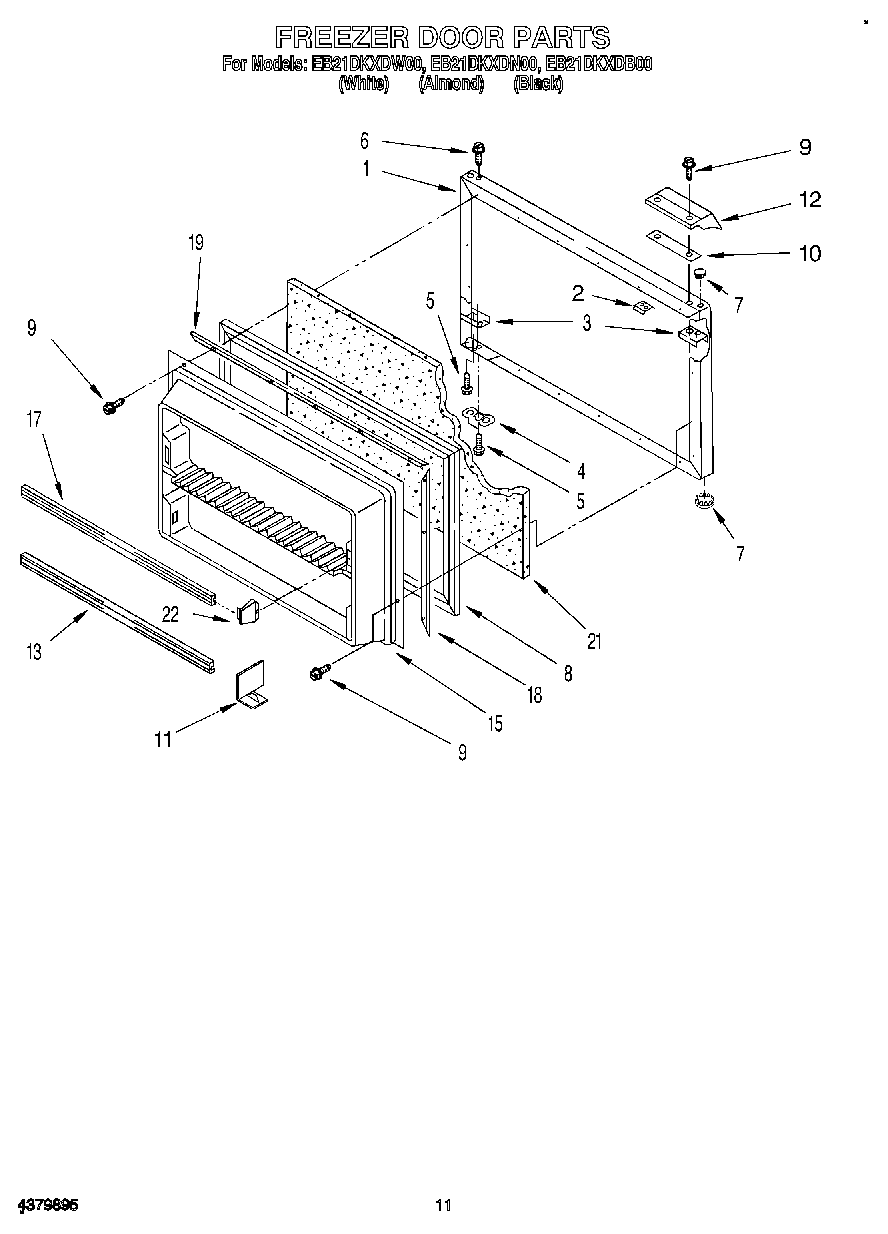
EB21DKXDN00 07 – FREEZER DOOR