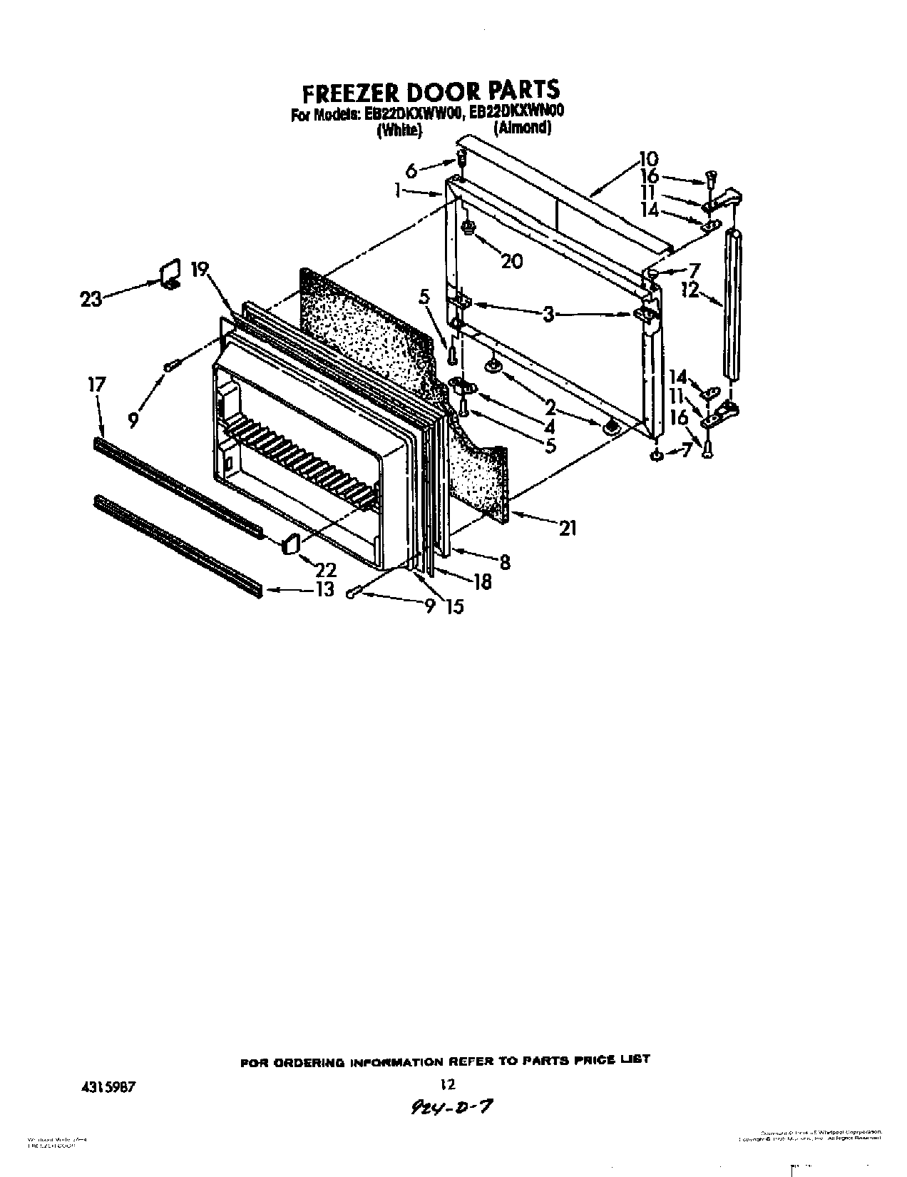
EB22DKXWN00 08 – FREEZER DOOR