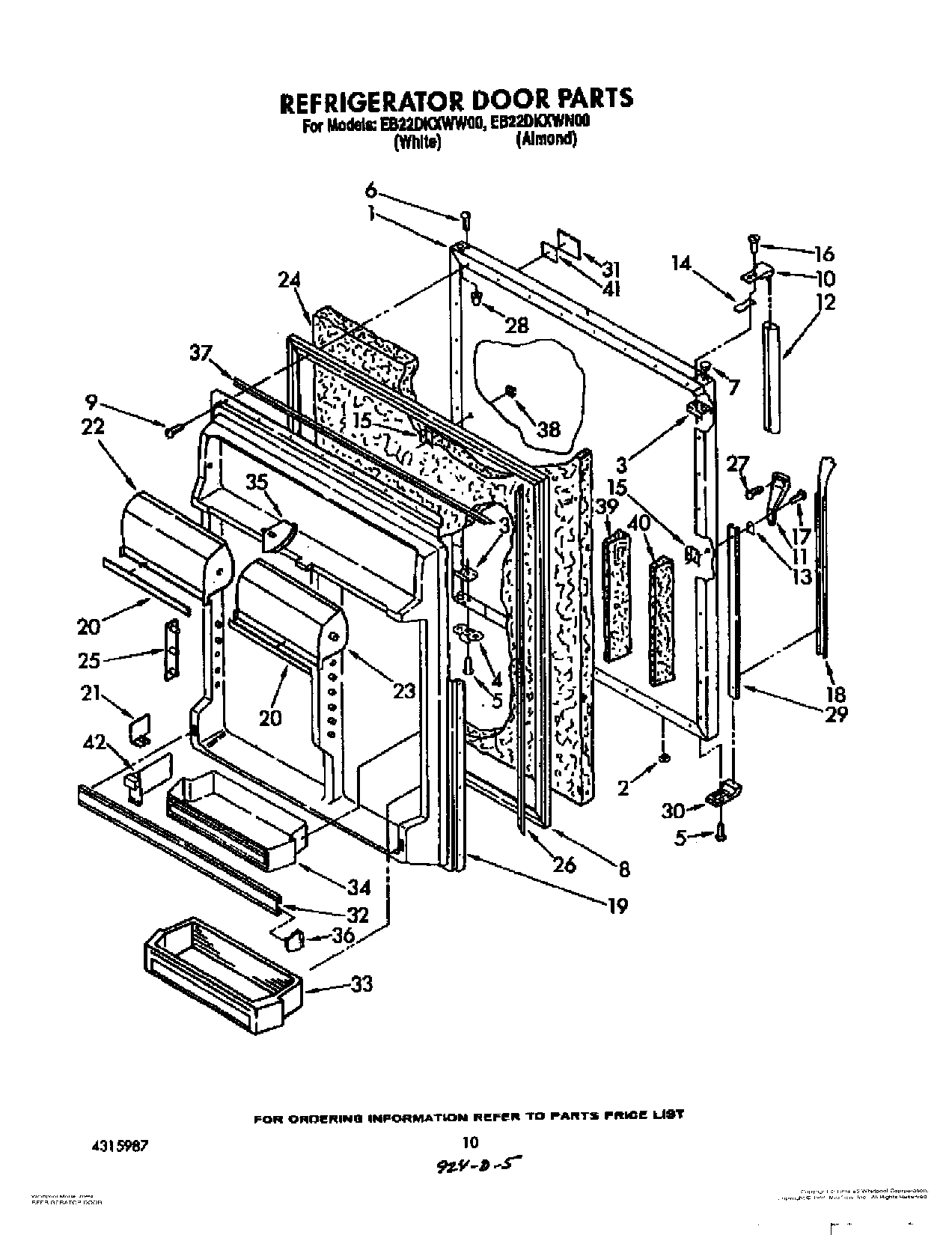
EB22DKXWW00 07 – REFRIGERATOR DOOR