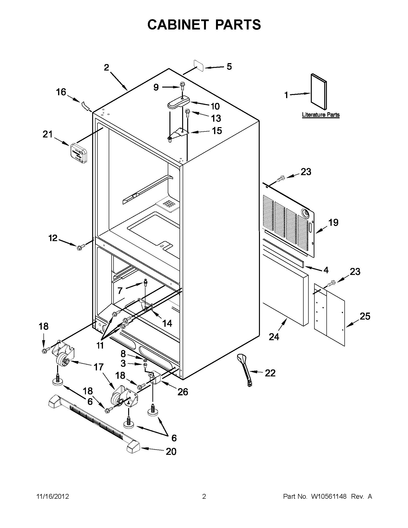
EB9FVBLWS06 01 – CABINET PARTS