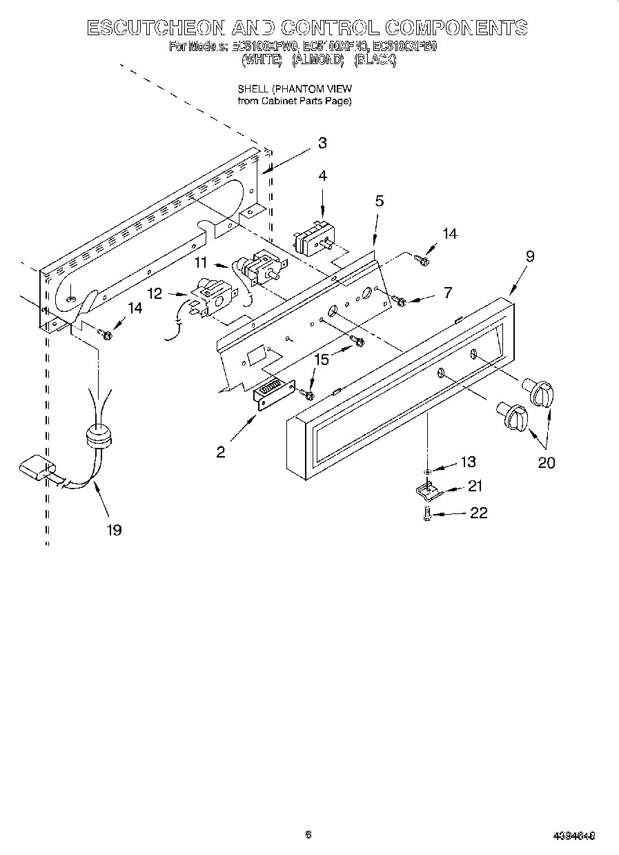
EC5100XFB0 04 – ESCUTCHEON AND CONTROL COMPONENTSadmin2025-04-26T11:48:51+00:00EC5100XFB0 04 – ESCUTCHEON AND CONTROL COMPONENTS ProductsPositionProduct2WPL 21654833Escutcheon, Panel4Switch, Service5WPL 21728467WP486579 Whirlpool Air Conditioner Screw9Escutcheon (Almond)9Escutcheon (Black)9Escutcheon (White)11Thermostat, Ice-Control12Thermostat, Ice-Bin13Washer, Latch14WP488729 Whirlpool Refrigerator Door Screw15Screw, 8-32 x 3/8 (2)19Harness, Wiring (Cutter Grid)20Knob (Black)20Knob (White)20Knob (Almond)21Latch21Latch, Door21Latch22Screw, 8-32 x 1/2