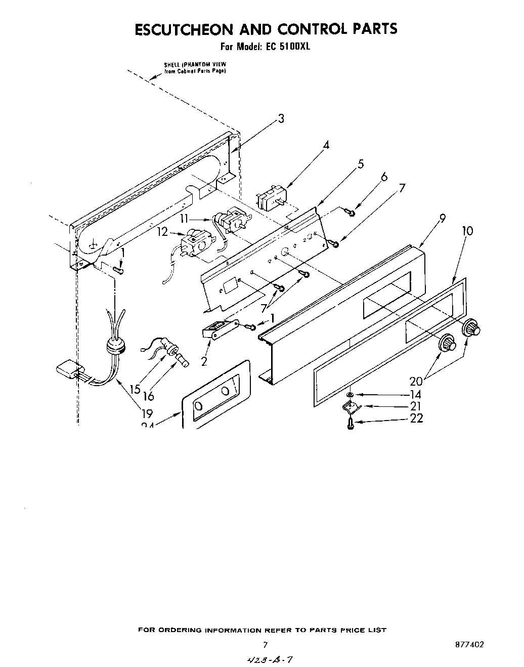
EC5100XL 05 – ESCUTCHEON AND CONTROLadmin2025-04-26T11:47:58+00:00EC5100XL 05 – ESCUTCHEON AND CONTROL
Products
| Position | Product |
|---|
| 1 | Screw, 8-32 x 3/8 (2) |
| 2 | Transformer |
| 3 | Panel, Rear Escutcheon |
| 4 | Switch, Rotary |
| 5 | Panel, Control |
| 6 | WP965173 Whirlpool Dishwasher Screw |
| 7 | WP486579 Whirlpool Air Conditioner Screw |
| 9 | Escutcheon, Control |
| 10 | Decal, Escutcheon |
| 11 | Thermostat, Evaporator |
| 12 | Thermostat, Bin Control |
| 14 | Washer, Latch |
| 15 | Holder, Fuse |
| 16 | Fuse |
| 19 | Harness, Grid |
| 20 | Knob |
| 21 | Latch, Door |
| 22 | Screw, 8-32 x 1/2 |
| 24 | Cup, Escutcheon |