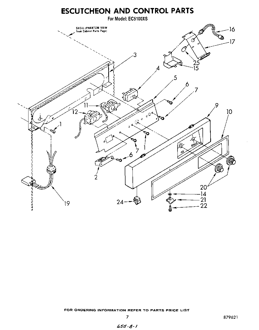
EC5100XS 05 – ESCUTCHEON AND CONTROL