EC510WXV0 03 – WATER DISTRIBUTIONadmin2025-04-26T11:48:27+00:00EC510WXV0 03 – WATER DISTRIBUTION
Products
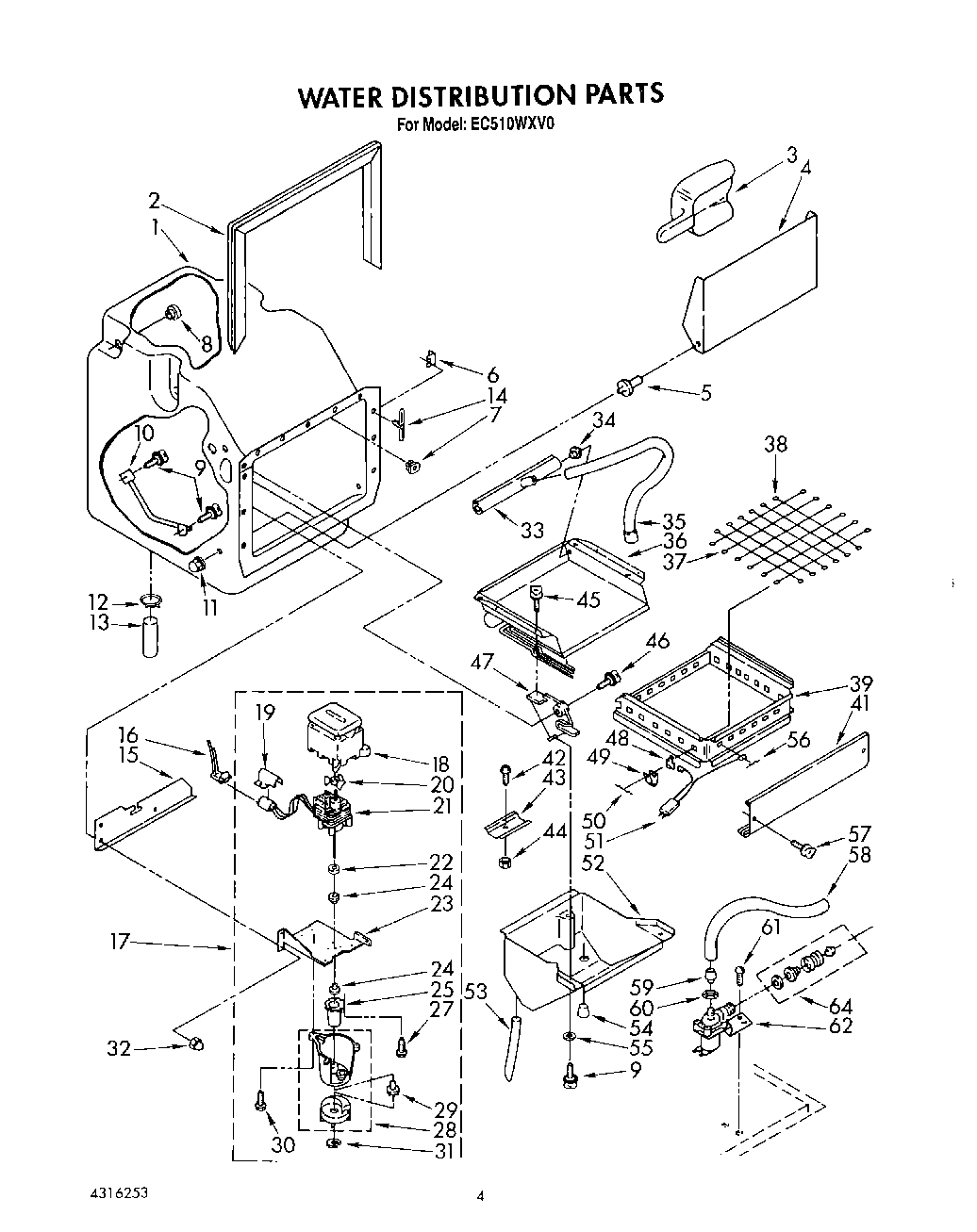
| Position | Product |
|---|
| 1 | Liner (Includes No.s 5, 6, 7, 11, 14) |
| 2 | Gasket, Liner |
| 3 | W11420408 Whirlpool Refrigerator Ice Scoop |
| 4 | Door, Inner |
| 5 | Stud, Inner Door Mtg. (2) |
| 6 | Washer, Clip |
| 7 | Grommet, Mtg (2) |
| 8 | Nut, Well (3) |
| 10 | Thermostat, Well Bin |
| 11 | Nut, Hex 1/4 (2) |
| 12 | Clamp, Hose (2) |
| 13 | Hose, 5/8 x 4`` (Connector To Air Gap) |
| 14 | Clip, Linner (12) |
| 15 | Shelf, Water Pan |
| 16 | Harness, Wiring (Water Pump) |
| 17 | WP756782 Whirlpool Refrigerator Pump |
| 18 | WPL 583155 |
| 19 | Sheild, Wiring |
| 20 | Blade, Fan |
| 21 | Motor, Pump |
| 22 | WPL 583424 |
| 23 | Bracket, Pump |
| 24 | Grommet (2) |
| 25 | Sleeve |
| 27 | 681390 Whirlpool Refrigerator Screw |
| 28 | Pump, Assembly |
| 29 | Impeller, Pump (Includes No. 31) |
| 30 | Screw, 8-18 x 3/4 |
| 31 | Ring, Retaining |
| 32 | Nut (3) |
| 33 | Dispenser, Water |
| 34 | Plug, |
| 35 | Hose, Dispenser |
| 36 | Evaporator |
| 37 | Wire, Cutter (Includes 5 Wires) |
| 38 | Wire, Cutter (Includes 6 Wires) |
| 41 | Panel, Grid |
| 42 | Screw, 10-32 x 1/2 |
| 43 | Clamp |
| 44 | Nut, 10-32 |
| 45 | Screw, 10 x 1/2 |
| 46 | Screw, Thumb 10-32 x 1`` |
| 47 | Bracket, Grid (2) |
| 48 | Insulator (2 Strips of 9) |
| 49 | Clip, Grid Wires (38) |
| 50 | Pin, Grid Wires (4) |
| 51 | Harness, Wiring (Cutter Grid) |
| 52 | Pan, Water |
| 53 | WPL 759109 |
| 54 | WPL 759043 |
| 55 | Washer, Latch |
| 56 | Pin, Grid Wire (17) |
| 57 | Screw, Thumb 10-32 x 3/4 (2) |
| 58 | W10823511 Whirlpool Refrigerator Water Tube |
| 59 | 4387491 Whirlpool Refrigerator Insert |
| 60 | WP627018 Whirlpool Refrigerator Nut |
| 61 | Screw, 1/4 -20 x 1-3/4 (2) |
| 62 | Valve, Water |
| 64 | WPL 533238 |