EC5150WV0 01 – UNIT, LITERATUREadmin2025-04-26T11:47:26+00:00EC5150WV0 01 – UNIT, LITERATURE
Products
| Position | Product |
|---|
| Sheet, Tech |
| Wiring Diagram |
| List, Repair Parts |
| Guide, Use And Care |
| Instructions, Installation |
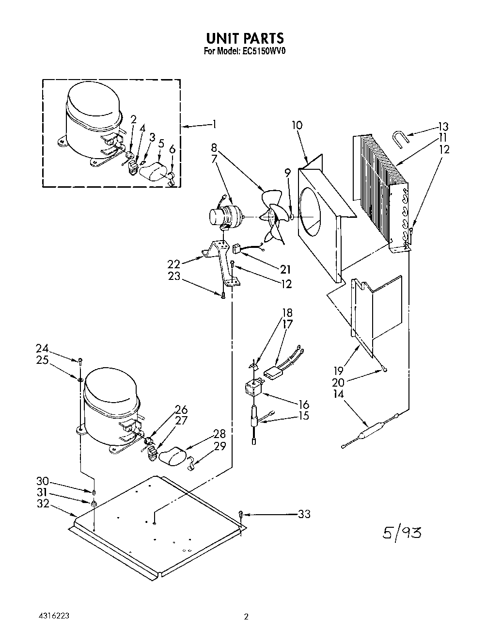
| 1 | Compressor, Service (Complete Assembly) |
| 2 | Overload |
| 3 | Spring, Overload |
| 4 | Relay, Start |
| 5 | Cover, Terminal |
| 6 | Cover, Spring |
| 7 | Motor, Fan (Includes No. 23) |
| 8 | 978655 Whirlpool Refrigerator Fan Blade |
| 9 | Nut, Hex 1/4-20 |
| 10 | Shroud, Condenser |
| 11 | Condenser |
| 12 | Screw, 1/4-20 x 1/2 |
| 13 | Accumulator |
| 14 | W10843121 Whirlpool Refrigerator Tube |
| 15 | Valve, Solenoid Coil |
| 16 | Coil, Solenoid |
| 17 | Harness, Wiring (Solenoid Coil) |
| 18 | Retainer, Solenoid Coil |
| 19 | Deflector, Air |
| 20 | WP488729 Whirlpool Refrigerator Door Screw |
| 21 | Harness, Wiring (Fan Motor) |
| 22 | Bracket, Fan Motor |
| 23 | Screw, 8-36 x 1/2 (4) |
| 24 | Screw, 5/16-18 x 1-1/4 (4) |
| 25 | Washer, Flat (4) |
| 26 | Overload |
| 27 | Relay, Start |
| 28 | Cover |
| 29 | Strap |
| 30 | Sleeve (4) |
| 31 | Grommet (4) |
| 32 | Base, Unit |
| 33 | Screw, No.10-32 x 3/8 |