EC5150WV0 05 – DRAIN PUMPadmin2025-04-26T11:48:35+00:00EC5150WV0 05 – DRAIN PUMP
Products
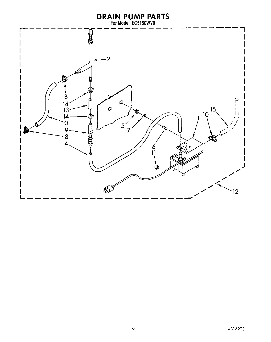
| Position | Product |
|---|
| 1 | Pump, Condensate Drain |
| 2 | WP300096 Whirlpool Dishwasher Air Gap |
| 3 | Hose, 7/8 I.D. x 20.0`` (Air Gap To Discharge) |
| 4 | Hose, 3/8 I.D. x 14 3/8`` (Pump To Air Gap) |
| 5 | Grommet, Mtg (2) |
| 6 | W10759522 Whirlpool Screw |
| 7 | Washer (2) |
| 8 | Clamp, Hose (2) |
| 9 | Connector, Hose |
| 10 | WP285655 Whirlpool Hose Clamp |
| 11 | Bushing, Cord |
| 12 | Pump, Condensate Drain (Complete Kit) |
| 13 | Hose, 5/8 x 4`` (Connector To Air Gap) |
| 14 | Clamp, Hose (2) |
| 15 | Hose, 1/2 I.D. x 12`` (Bin To Pump) |