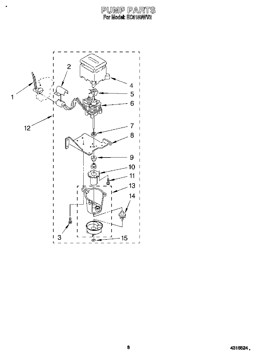
| 1 | Harness, Wiring (Water Pump) |
| 2 | Sheild, Wiring |
| 3 | Screw, 8-18 x 3/4 |
| 4 | WPL 583155 |
| 5 | Blade, Fan |
| 6 | WPL 1127834 |
| 7 | WPL 583424 |
| 8 | Bracket, Pump |
| 9 | Grommet (2) |
| 10 | Sleeve |
| 11 | 681390 Whirlpool Refrigerator Screw |
| 12 | WP756782 Whirlpool Refrigerator Pump |
| 13 | Pump, Assembly |
| 14 | Impeller, Pump (Includes No. 31) |
| 15 | Ring, Retaining |