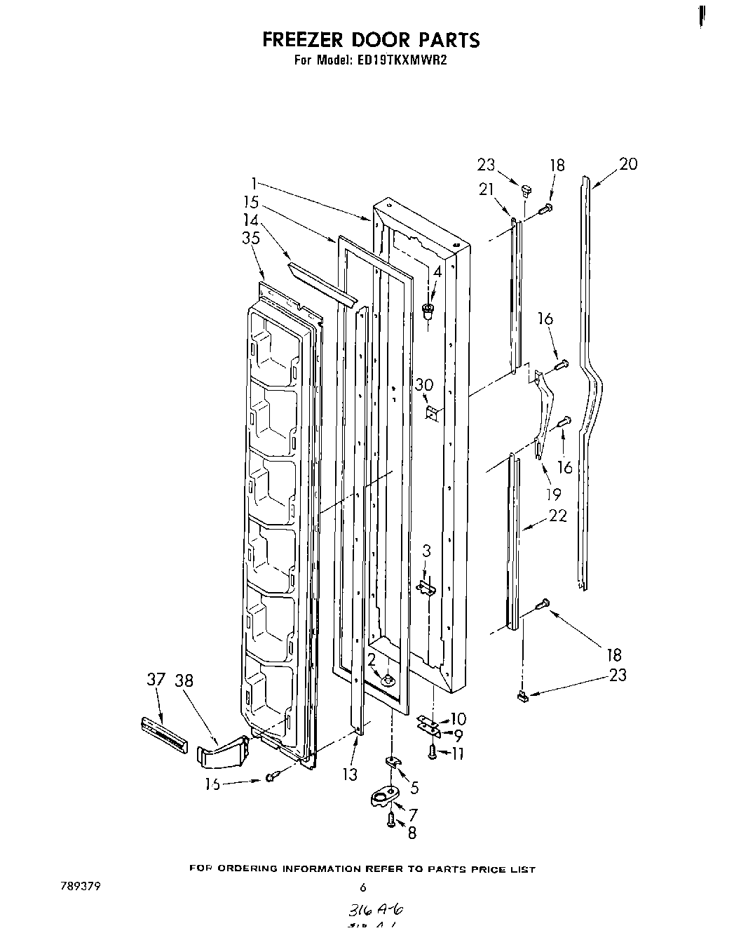
ED19TKXMWR2 04 – FREEZER DOOR