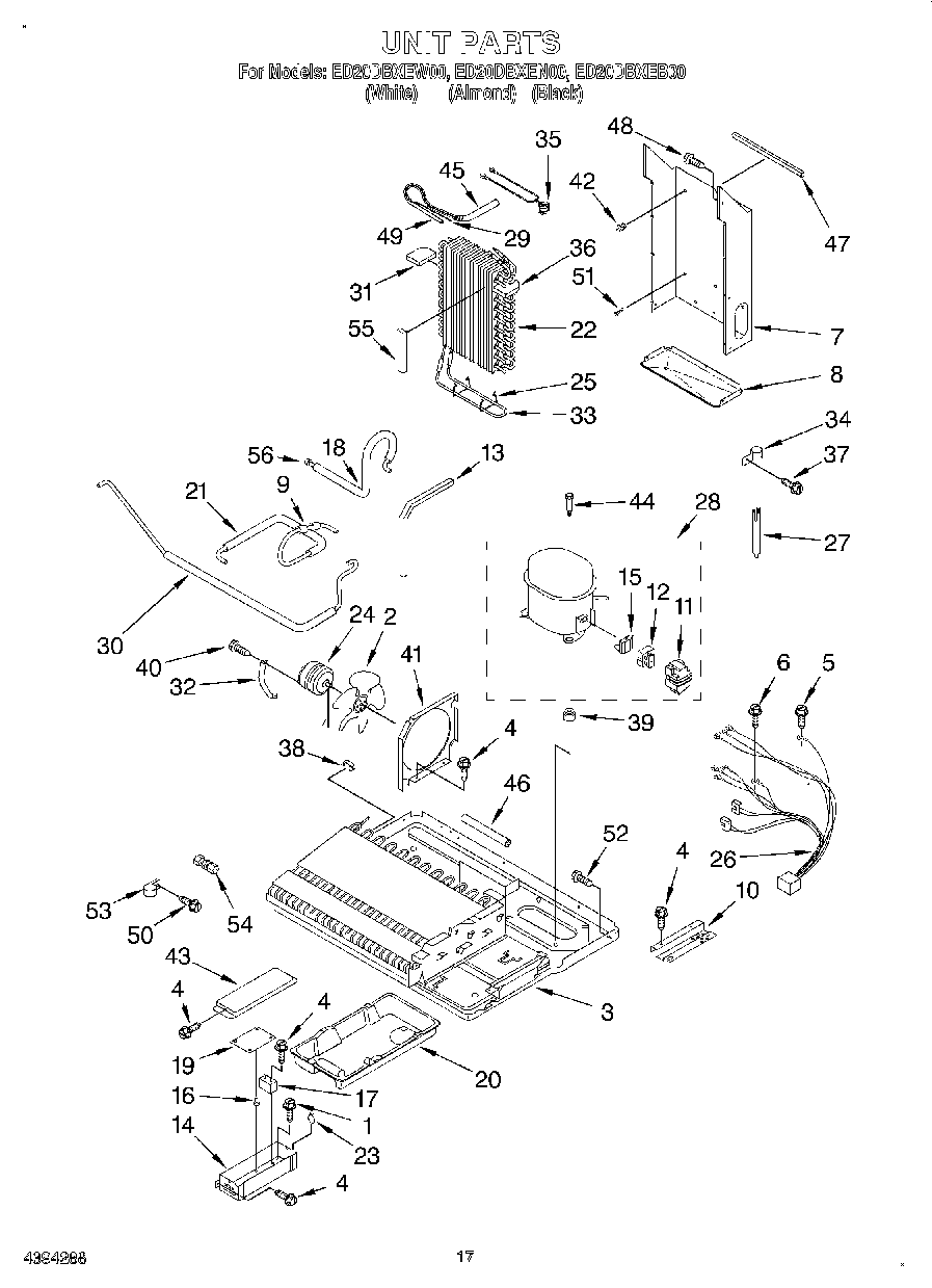
ED20DBXEB00 10 – UNIT