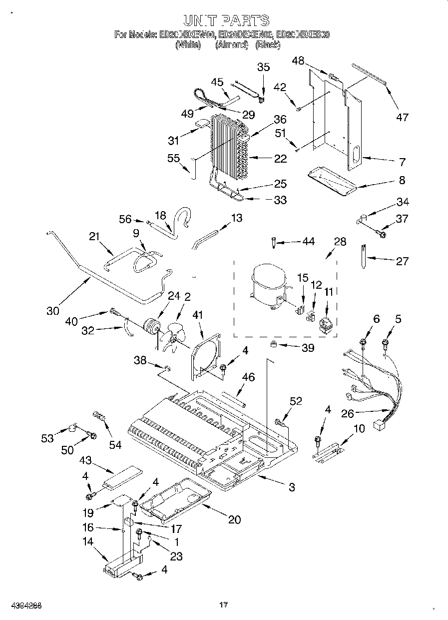
ED20DBXEN00 10 – UNIT