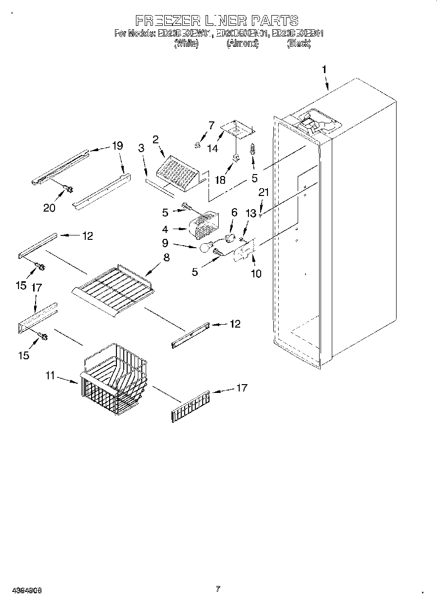
ED20DBXEN01 04 – FREEZER LINERadmin2025-04-26T11:51:55+00:00ED20DBXEN01 04 – FREEZER LINER ProductsPositionProduct1Liner (Not A Serviceable Part)2Top Shelf3Insert, Top Shelf4Light Lens5WP489464 Whirlpool Refrigerator Screw6Light Socket7Support, Stud (2)8Shelf (3)9W11679940 Whirlpool Refrigerator Light Bulb Assembly10Plate, Socket11Basket, Slope12Shelf Track (Single) (Left Side)12Shelf Track (Single) (Right Side)13WPL 434368214Cover, Light Switch15WP98165 Whirlpool Screw17Shelf Track (Left Side (2))17Shelf Track (Right Side (2))18WP4387911 Whirlpool Refrigerator Switch1967005375 Whirlpool Refrigerator Glide, Freezer (Left)19Slide, Ice Container (Right Side)20Screw21WPL 4343657