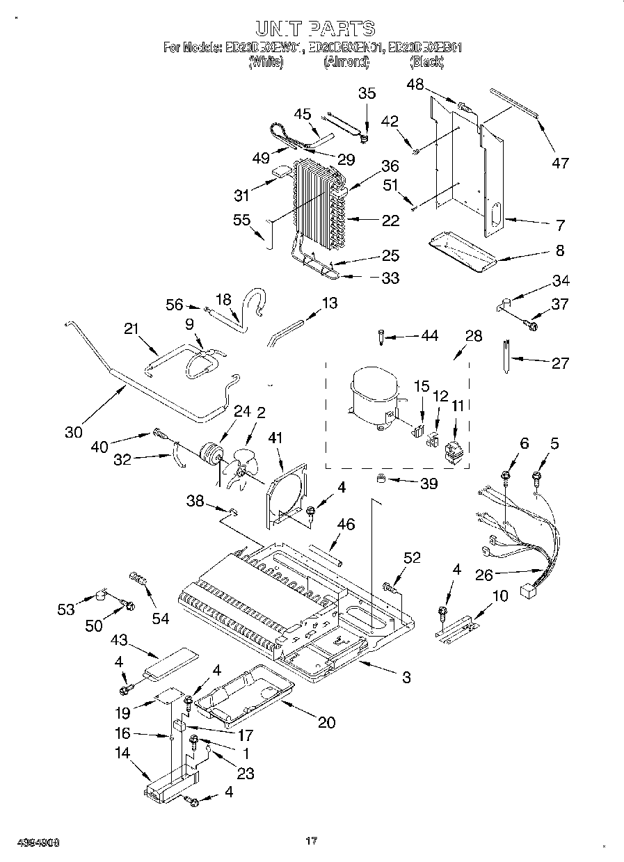
ED20DBXEW01 10 – UNIT