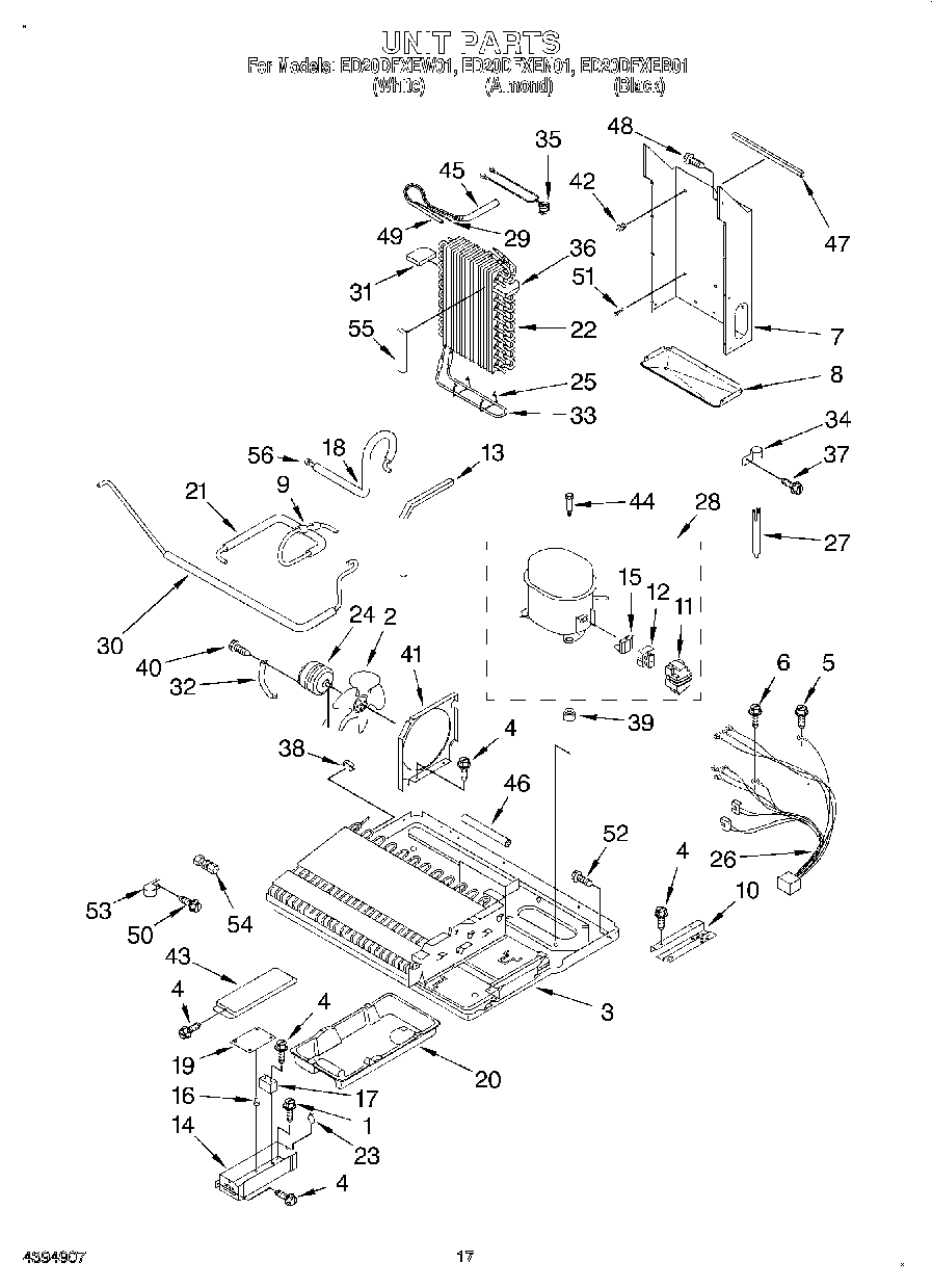
ED20DFXEB01 10 – UNIT