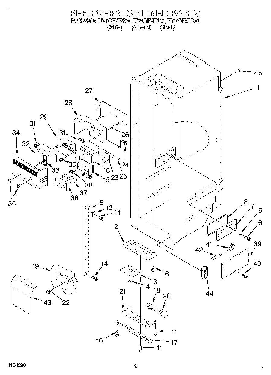
ED20DFXEW00 02 – REFRIGERATOR LINER