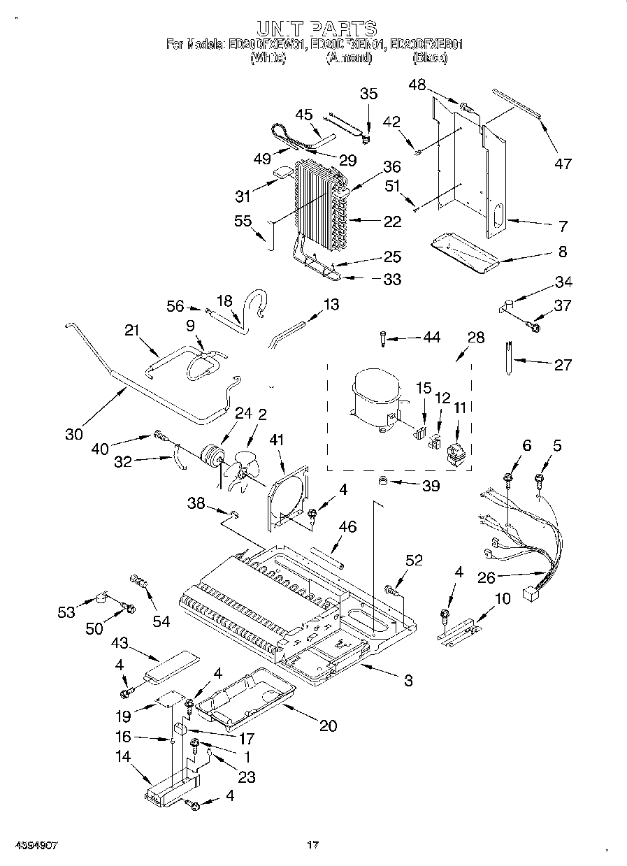
ED20DFXEW01 10 – UNIT