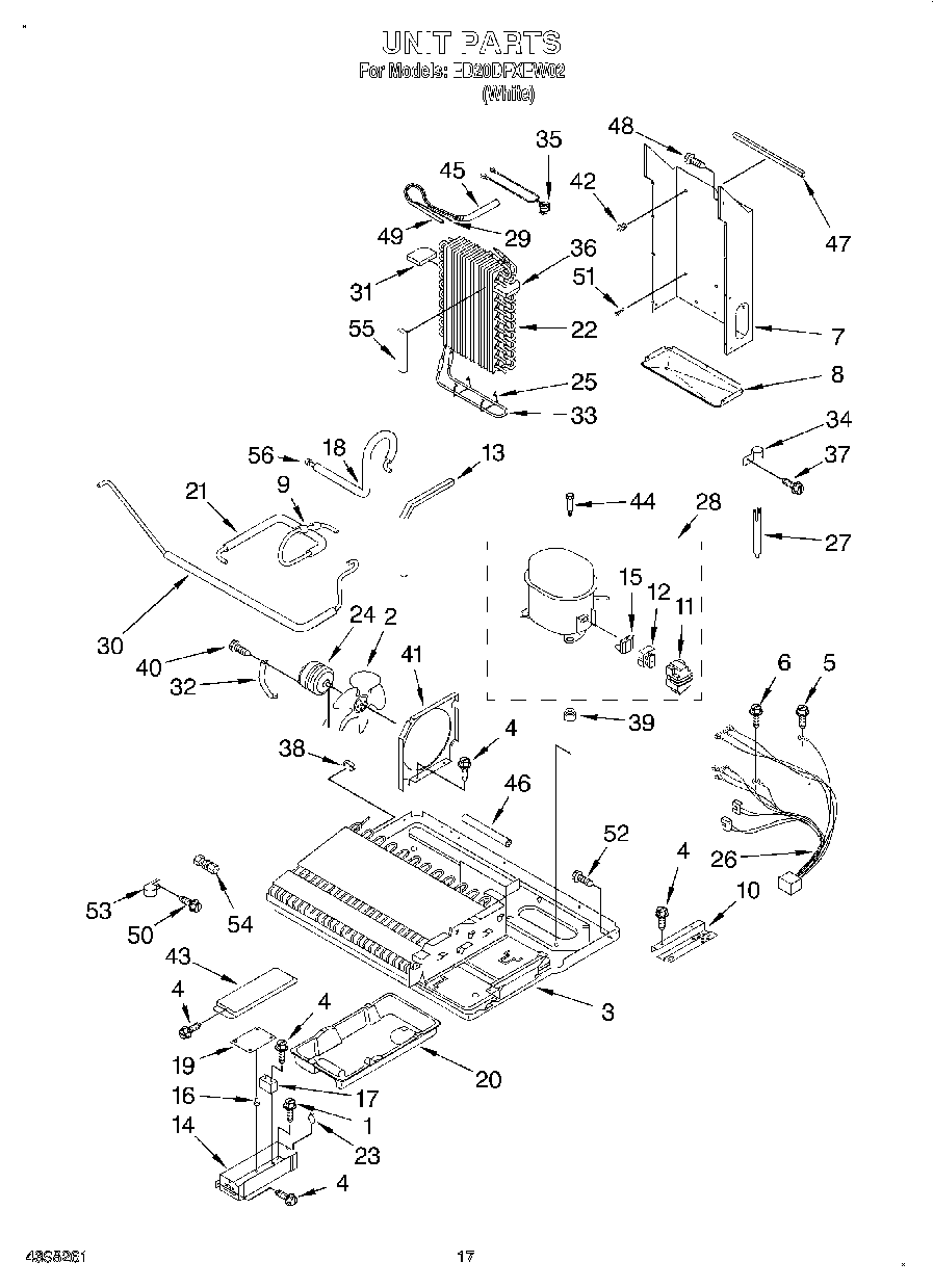
ED20DFXEW02 10 – UNIT