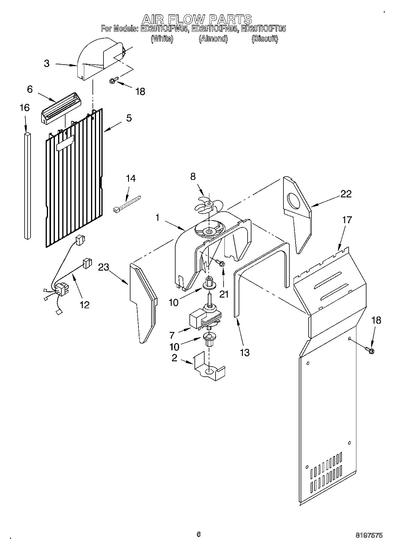
ED20TKXFN05 04 – AIR FLOWadmin2025-04-26T11:51:39+00:00ED20TKXFN05 04 – AIR FLOW ProductsPositionProduct1W11254898 Whirlpool Refrigerator Scroll Fan2WP2155590 Whirlpool Refrigerator Retainer3Air Scoop5Air Duct Freezer6Diffuser, Air Duct74389144 Whirlpool Refrigerator Evaporator Fan Motor8WP2169142 Whirlpool Fan Blade10WP2176759 Whirlpool Refrigerator Grommet12W11234406 Whirlpool Refrigerator Wire Harness13WP2155789 Whirlpool Refrigerator Gasket14WPW10339879 Whirlpool Wire Tie164388500 Whirlpool Refrigerator Gasket174388357 Whirlpool Refrigerator Evaporator Cover18SCREW21WP489478 Whirlpool Refrigerator Screw224388358 Whirlpool Refrigerator Support Bracket