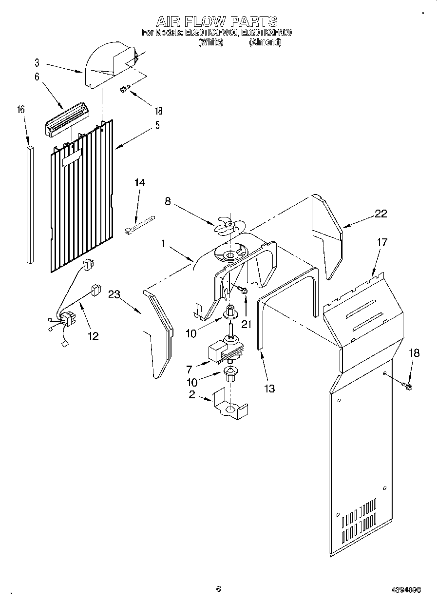
ED20TKXFW00 04 – AIR FLOW