ED20TKXFW02 06 – REFRIGERATOR DOORadmin2025-04-26T11:52:06+00:00ED20TKXFW02 06 – REFRIGERATOR DOOR
Products
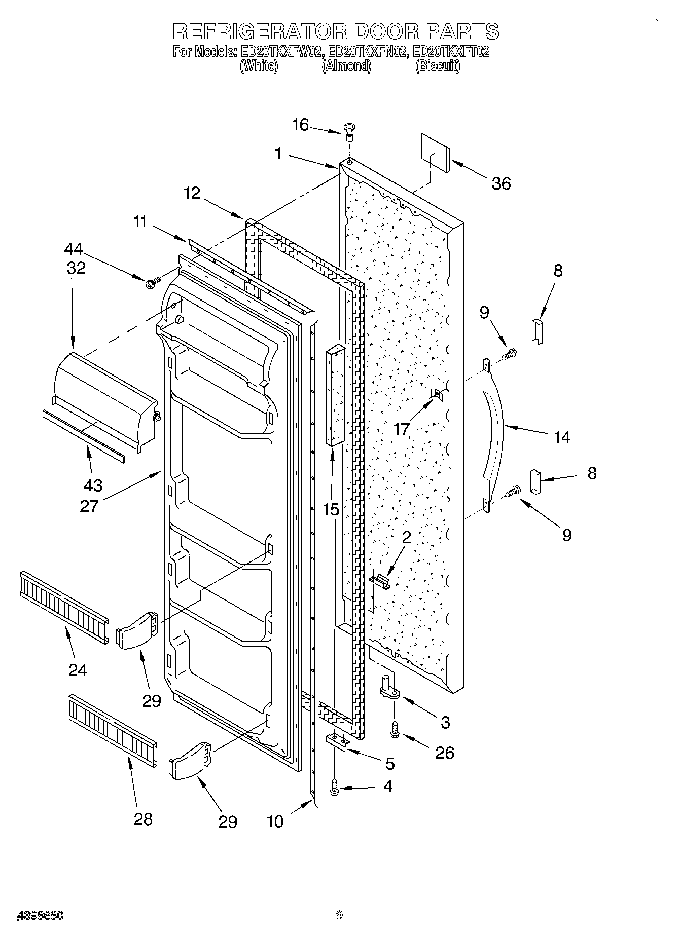
| Position | Product |
|---|
| 1 | Refrigerator Door Panel (Biscuit (Also Order Item 20)) |
| 1 | Refrigerator Door Panel |
| 1 | Refrigerator Door Panel (Almond) |
| 2 | SCREW PLATE |
| 3 | WP2182179 Whirlpool Cam Closer |
| 4 | WP489483 Whirlpool Screw |
| 5 | Bracket, Door Stop (Chrome) |
| 8 | Cover, Trim (Biscuit) |
| 8 | WP2193353W Whirlpool Refrigerator Trim Handle |
| 8 | Endcap, Handle (2) (Almond) |
| 9 | WP489491 Whirlpool Refrigerator Screw |
| 10 | Retainer, Gasket |
| 11 | Gasket Retainer, Top & Bottom |
| 12 | 2188404A Whirlpool Refrigerator Door Gasket |
| 14 | Handle, Center (Almond) |
| 14 | Handle, Center (Biscuit) |
| 14 | Handle, Center (White) |
| 15 | Reinforcement, Shelf |
| 16 | WP2182181 Whirlpool Refrigerator Thimble |
| 17 | Screw Anchor (2) |
| 24 | WP2182189 Whirlpool Door Shelf Bar |
| 26 | WP3400012 Whirlpool Refrigerator Screw |
| 27 | Interior Door Panel (Also Order Item No.15) |
| 28 | WP2256010 Whirlpool Door Shelf Trim |
| 29 | WP2196189 Whirlpool Shelf Retainer Bar |
| 29 | WP2196190 Whirlpool Shelf Retainer Bar Support |
| 32 | Door, Compartment |
| 36 | Nameplate (White) |
| 36 | Nameplate (Biscuit Model) |
| 36 | Nameplate (Almond Model) |
| 43 | Trim, Door Compartment |
| 44 | WP489069 Whirlpool Compactor Screw |