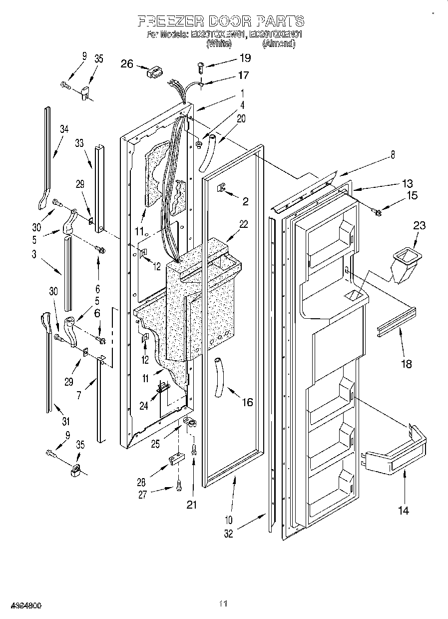
ED20TQXEN01 07 – FREEZER DOOR