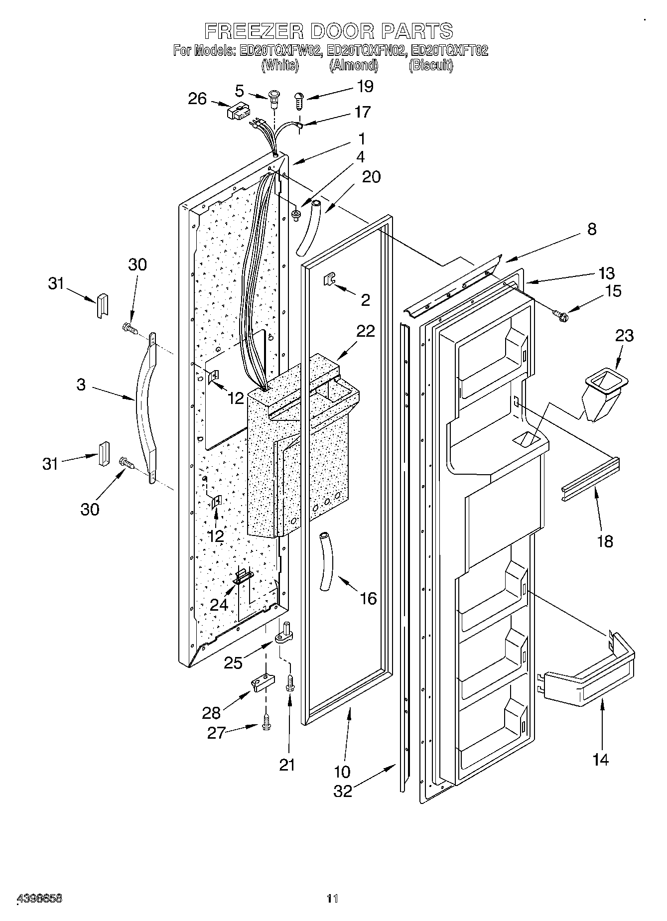
ED20TQXFT02 07 – FREEZER DOORadmin2025-04-26T11:50:01+00:00ED20TQXFT02 07 – FREEZER DOOR
Products
| Position | Product |
|---|
| 1 | Freezer, Door Panel (White) |
| 1 | Freezer, Door Panel (Biscuit) |
| 1 | Freezer, Door Panel (Almond) |
| 2 | Clip |
| 3 | Handle, Center (Biscuit) |
| 3 | Handle, Center (White) |
| 3 | Handle, Center (Almond) |
| 4 | Cap, Hinge Sleeve (2) |
| 5 | WP2182181 Whirlpool Refrigerator Thimble |
| 8 | Retainer, Gasket |
| 10 | 2188405A Whirlpool Refrigerator Door Gasket |
| 12 | WP939101 Whirlpool Refrigerator Plate |
| 13 | Panel, Interior Door |
| 14 | Trim, Door Shelf (4) |
| 15 | WP489069 Whirlpool Compactor Screw |
| 16 | Tube, Water Line |
| 17 | Wire Harness |
| 18 | TRIM-DOOR |
| 19 | WP489128 Whirlpool Refrigerator Screw |
| 20 | Tube, Door Wiring |
| 21 | WP3400012 Whirlpool Refrigerator Screw |
| 22 | Insulation, Dispenser |
| 23 | Chute, Ice |
| 24 | SCREW PLATE |
| 25 | WP2182179 Whirlpool Cam Closer |
| 26 | WP2154473 Whirlpool Refrigerator Connector |
| 27 | WP489483 Whirlpool Screw |
| 28 | Bracket, Door Stop (Chrome) |
| 30 | WP489491 Whirlpool Refrigerator Screw |
| 31 | Cover, Trim (Biscuit) |
| 31 | WP2193353W Whirlpool Refrigerator Trim Handle |
| 31 | Endcap, Handle (2) (Almond) |
| 32 | Retainer, Gasket |