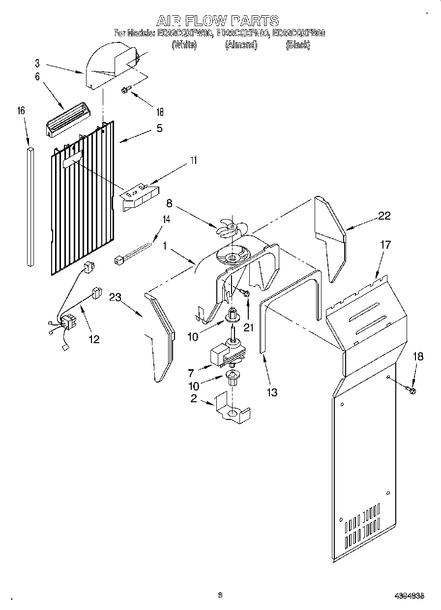
ED22CQXFB00 05 – AIR FLOW