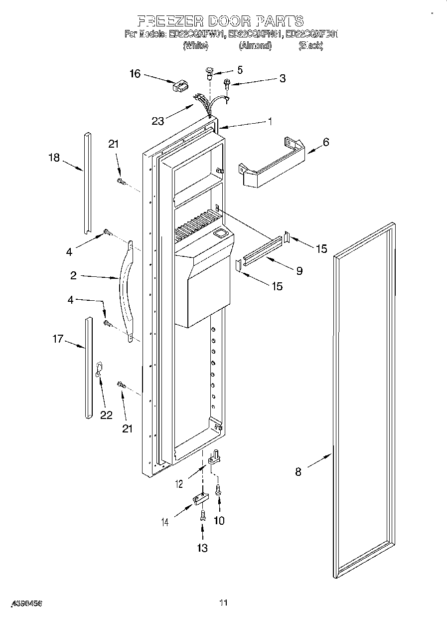
ED22CQXFW01 08 – FREEZER DOOR