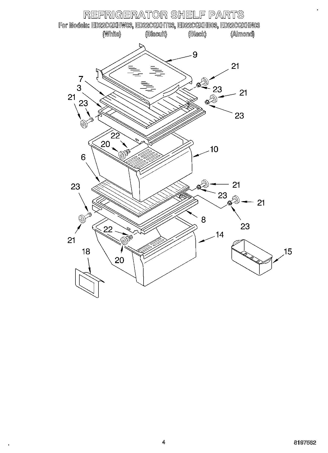
ED22CQXHB03 03 – REFRIGERATOR SHELFadmin2025-04-26T11:52:21+00:00ED22CQXHB03 03 – REFRIGERATOR SHELF ProductsPositionProduct3W10508993 Whirlpool Refrigerator Cover Pan7W10864399 Whirlpool Glass Shelf8Cover, Meat Pan9Shelf Assembly, Cantilever (2)10WP2188661 Whirlpool Crisper Pan14WP2188664 Whirlpool Dishwasher Meat Crisper Pan15W10136387A Whirlpool Refrigerator Egg Container182179350 Whirlpool Refrigerator Deflector20W11223328 Whirlpool Refrigerator Shelf Stud21WP2196483 Whirlpool Refrigerator Shelf Stud22WP3-24004-109 Whirlpool Refrigerator Screw23WP3400806 Whirlpool Screw