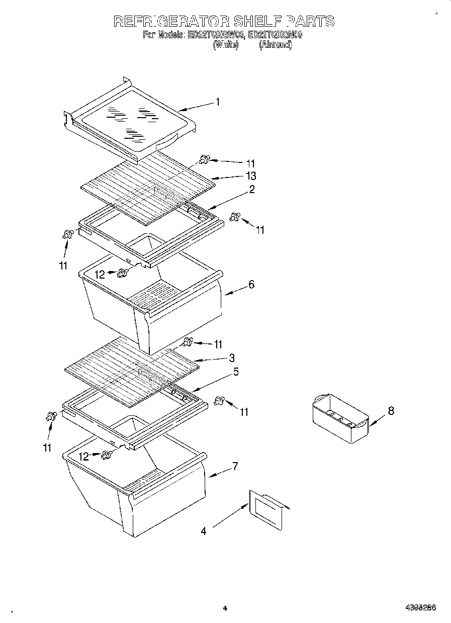
ED22TQXGN00 03 – REFRIGERATOR SHELFadmin2025-04-26T11:44:26+00:00ED22TQXGN00 03 – REFRIGERATOR SHELF ProductsPositionProduct1Shelf, Spillguard (3)42179350 Whirlpool Refrigerator Deflector5W10508993 Whirlpool Refrigerator Cover Pan6WP2188661 Whirlpool Crisper Pan7WP2188664 Whirlpool Dishwasher Meat Crisper Pan8W10136387A Whirlpool Refrigerator Egg Container114388538 Whirlpool Refrigerator Stud Shelf Kit (White)124388539 Whirlpool Refrigerator Shelf Stud13W10864399 Whirlpool Glass Shelf