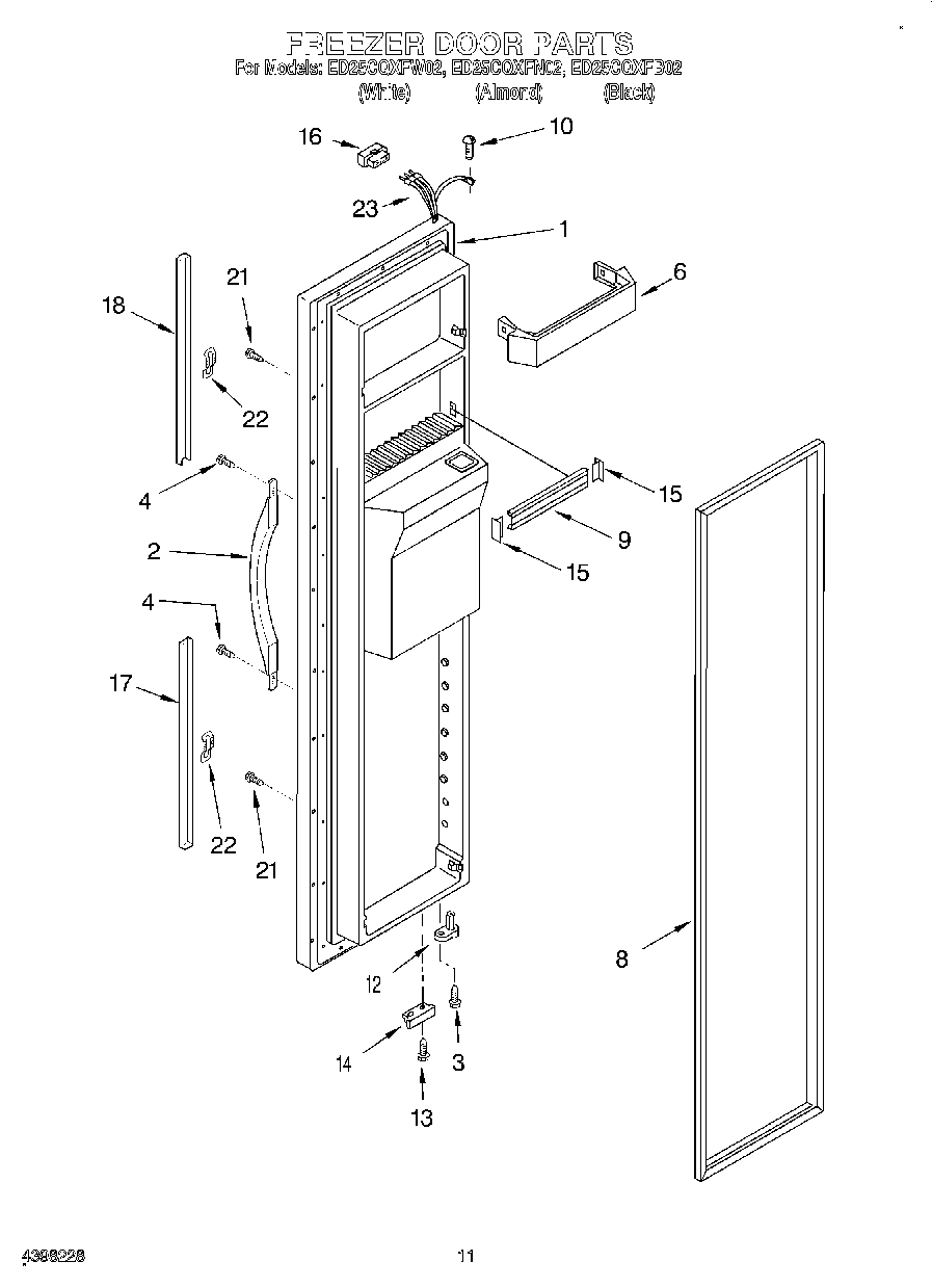
ED25CQXFN02 07 – FREEZER DOOR