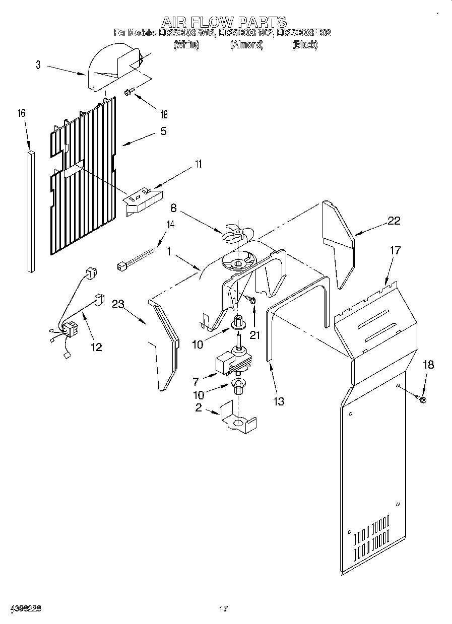
ED25CQXFN02 10 – AIR FLOW