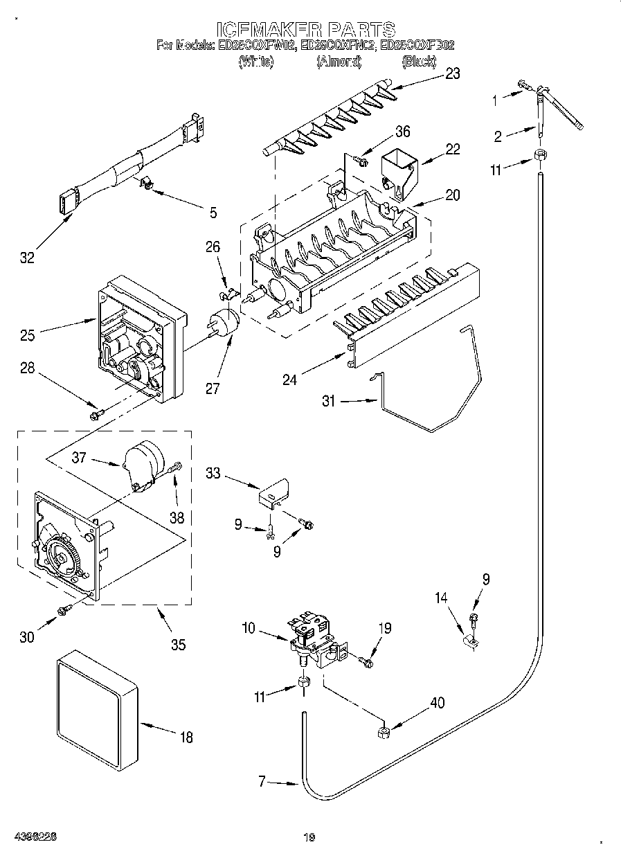
ED25CQXFN02 12 – ICE MAKER, OPTIONAL

ED25CQXFN02 12 – ICE MAKER, OPTIONAL

Products

PositionProduct
2WP2196157 Whirlpool Fill Tube
5WP628379 Whirlpool Refrigerator Clip
7W10823511 Whirlpool Refrigerator Water Tube
9WP489478 Whirlpool Refrigerator Screw
10W10853654 Whirlpool Water Inlet Valve
11WP627018 Whirlpool Refrigerator Nut
14WP488366 Whirlpool Refrigerator Clamp
18WPW10289690 Whirlpool Ice Maker Cover
19WPW10141625 Whirlpool Refrigerator Screw Assembly
20WPW10190929 Whirlpool Refrigerator Ice Maker Mold
22WP628356 Whirlpool Refrigerator Fill Cup
23WP627843 Whirlpool Refrigerator Ejector Arm
24WP2182124 Whirlpool Refrigerator Stripper Arm
25WP2195914 Whirlpool Refrigerator Ice Maker Housing
26WP2315522 Whirlpool Refrigerator Clip
27Cement Alumilastic)
27WP627985 Whirlpool Icemaker Cycling Thermostat
288533917 Whirlpool Refrigerator Screw
30WP681249 Whirlpool Screw Assembly
31W11342242 Whirlpool Refrigerator Ice Level Arm
32WP2187464 Whirlpool Refrigerator Wire Harness
33W11500948 Whirlpool Refrigerator Bracket
36WP488163 Whirlpool Refrigerator Screw
37W10190935 Whirlpool Refrigerator Icemaker Motor Module Assembly
38489136 Whirlpool Refrigerator Screw
40WP72107 Whirlpool Touchup
40Almond (Uncut)
40799344 Whirlpool Refrigerator Paint
40285006 Whirlpool Spray
4072032 Whirlpool Touch Up Paint Black
40606755 Whirlpool Refrigerator Bag
40Nut, Compression
40WPW10312300 Whirlpool Refrigerator Ice Container
4072017 Whirlpool Appliance Touch-Up Paint White
40350956 Whirlpool Spray Assembly
40WPL 876029
40WPL 799833
404317943 Whirlpool Refrigerator Ice Maker Assembly
40212643 Whirlpool Refrigerator Permagum Sealer
40350930 Whirlpool White Spray Paint
40350942 Whirlpool Spray Paint
40511873 Whirlpool Refrigerator Paint
40833938 Whirlpool Refrigerator Terminal
40876370 Whirlpool Refrigerator Insulation
40WP503695 Whirlpool Refrigerator Sealer
40WP505587 Whirlpool Refrigerator Sealer
40WP542638 Whirlpool Refrigerator Grease
40Torx Key
40CEMENT, ALUMILASTIC (1 1/4 OZ.)
40Enamel, Black (1 Qt. Uncut)
40TAPE, VINYL (3/4 X 108``)