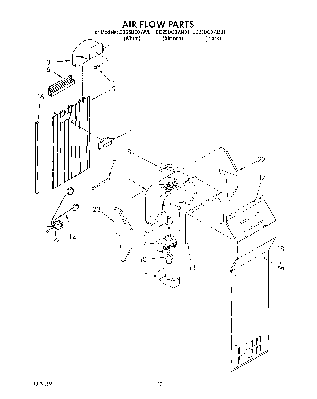
| 1 | WP2182120 Whirlpool Refrigerator Scroll Fan |
| 2 | WP2155590 Whirlpool Refrigerator Retainer |
| 3 | Air Scoop |
| 4 | WP488729 Whirlpool Refrigerator Door Screw |
| 5 | Air Duct Freezer |
| 6 | Diffuser Air Duct |
| 7 | 4389144 Whirlpool Refrigerator Evaporator Fan Motor |
| 8 | WP2169142 Whirlpool Fan Blade |
| 10 | Grommet, Fan (2) |
| 11 | 2182146 Whirlpool Refrigerator Duct |
| 12 | Harness, Fan Evaporator, And Heater, Bi-Metal |
| 13 | WP2155789 Whirlpool Refrigerator Gasket |
| 14 | WPW10339879 Whirlpool Wire Tie |
| 16 | WP2304241 Whirlpool Refrigerator Gasket |
| 17 | Cover, Evaporator |
| 18 | SCREW |
| 21 | WP489478 Whirlpool Refrigerator Screw |
| 22 | 4388358 Whirlpool Refrigerator Support Bracket |