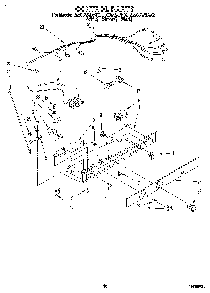
ED25DQXDN02 11 – CONTROL