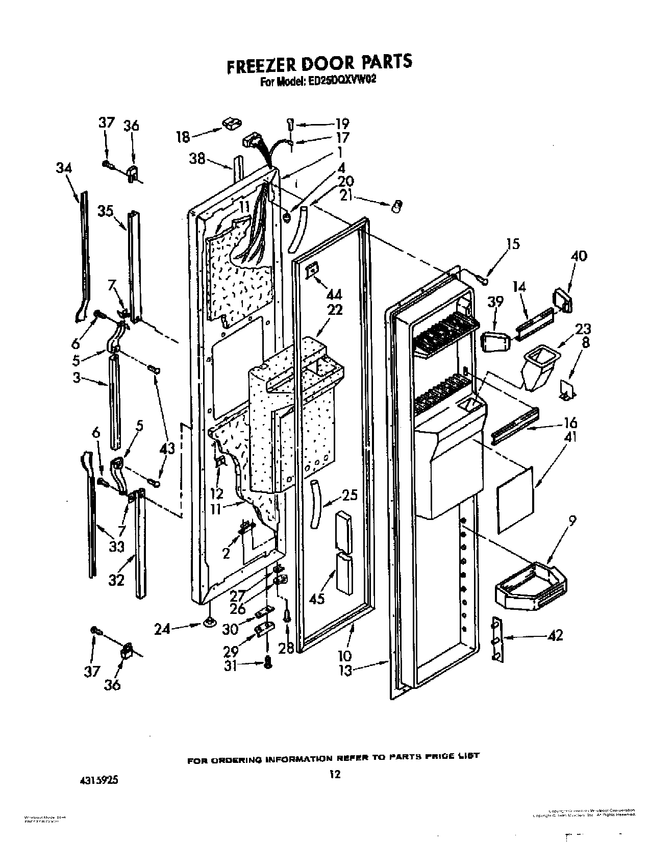
ED25DQXVF02 08 – FREEZER DOOR