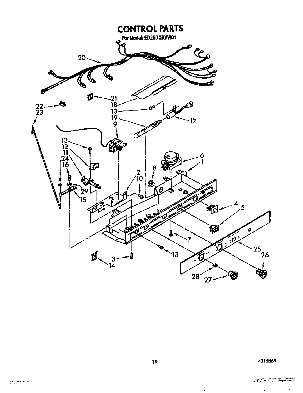
ED25DQXVM01 12 – CONTROL