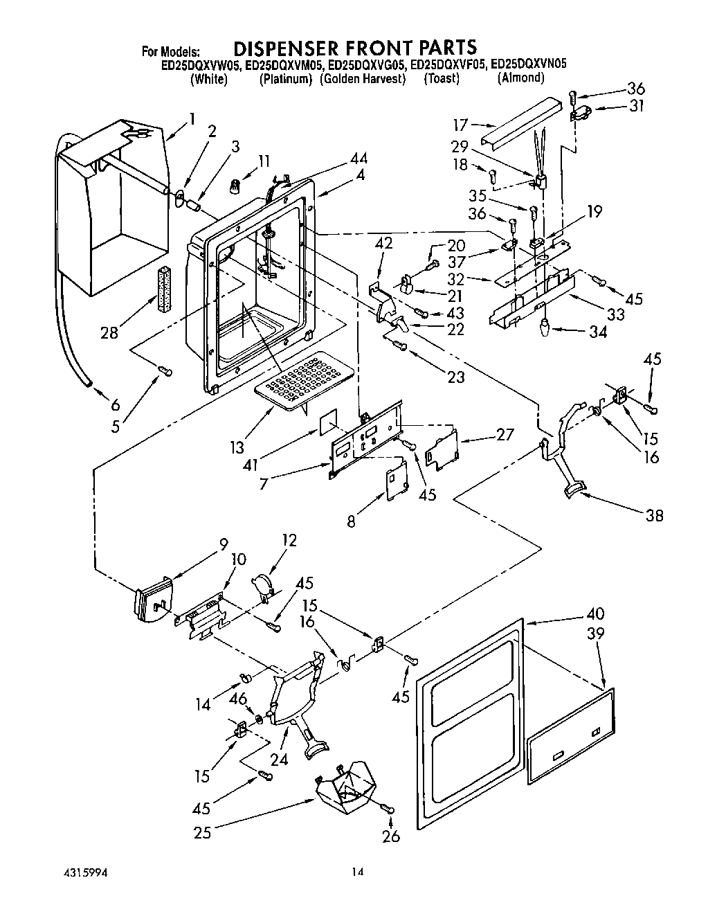
ED25DQXVM05 09 – DISPENSER FRONT