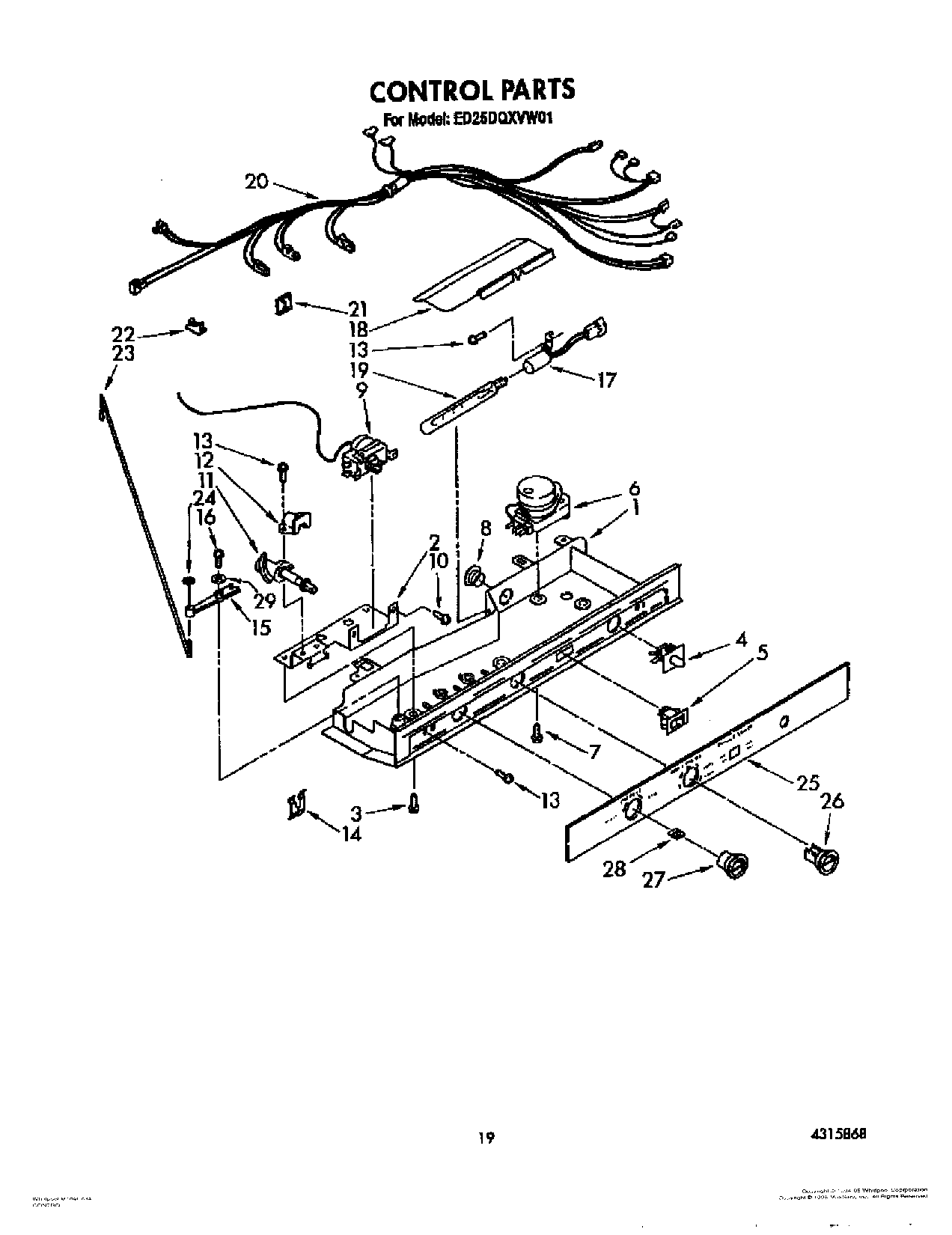
ED25DQXVN01 12 – CONTROL