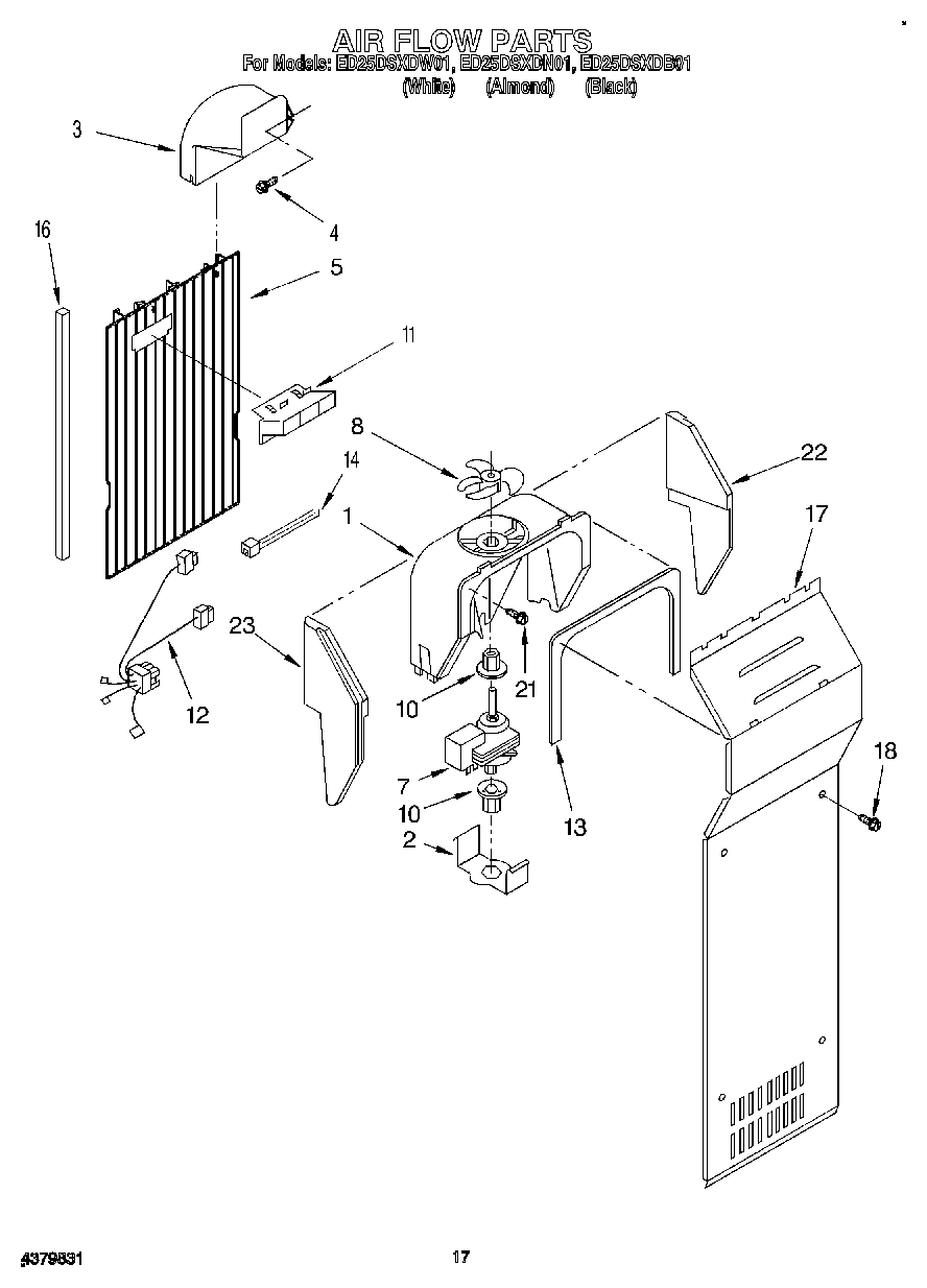
ED25DSXDB01 10 – AIR FLOW