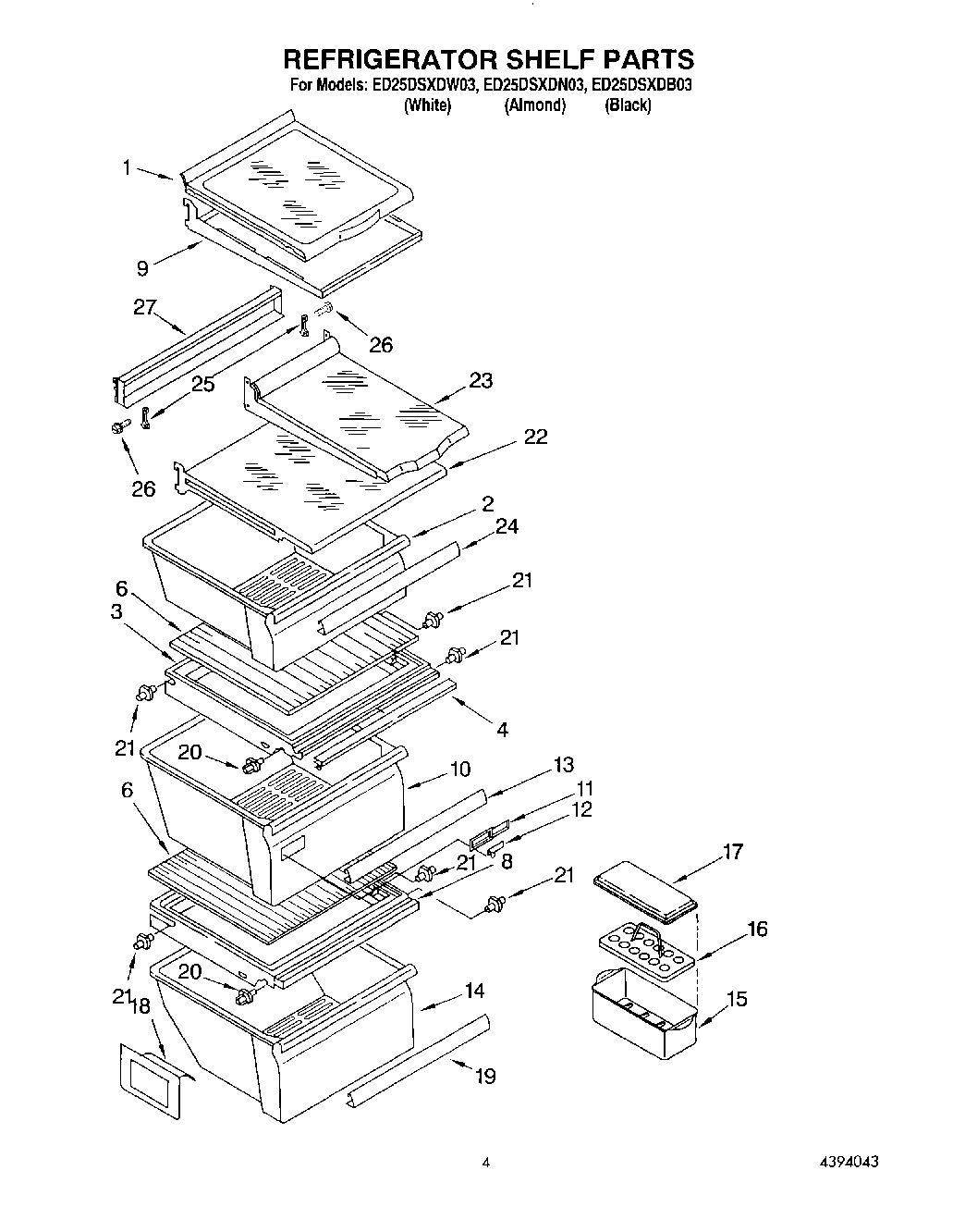
ED25DSXDB03 03 – REFRIGERATOR SHELF