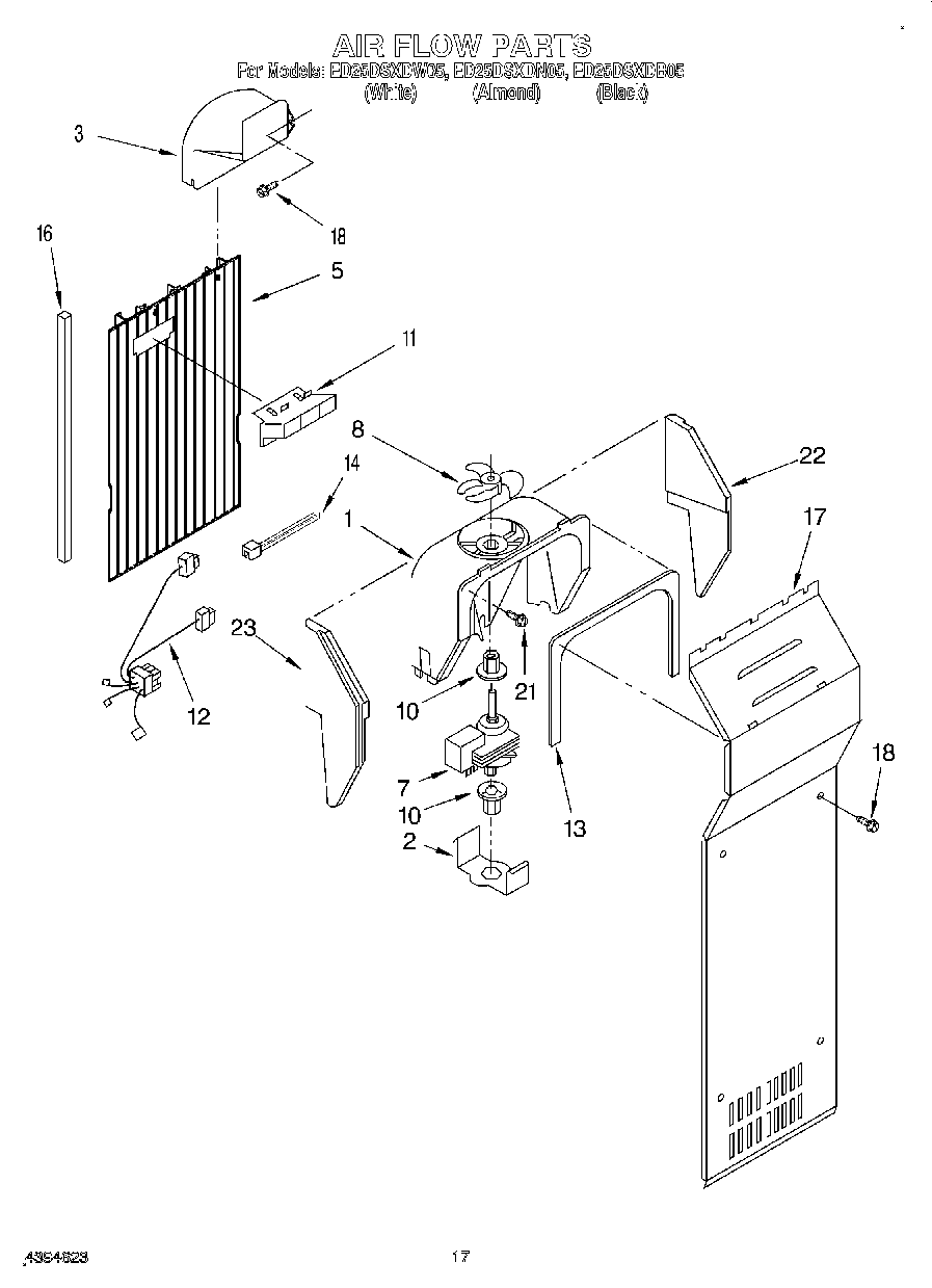
ED25DSXDN05 10 – AIRFLOW