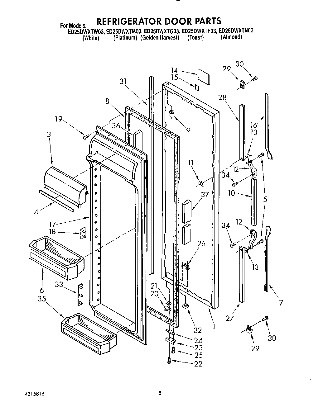
ED25DWXTG03 07 – REFRIGERATOR DOOR