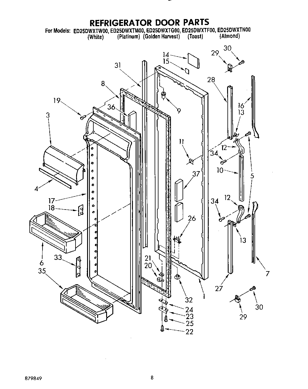
ED25DWXTW00 07 – REFRIGERATOR DOOR