ED25DWXTW02 13 – ICEMAKER, LIT/OPTIONAL

ED25DWXTW02 13 – ICEMAKER, LIT/OPTIONAL

Products

PositionProduct
WPL LIT879990
WPL LIT1123781
WPL LIT1114079
WPL LIT1118427
Torx Key
WPL LIT628107
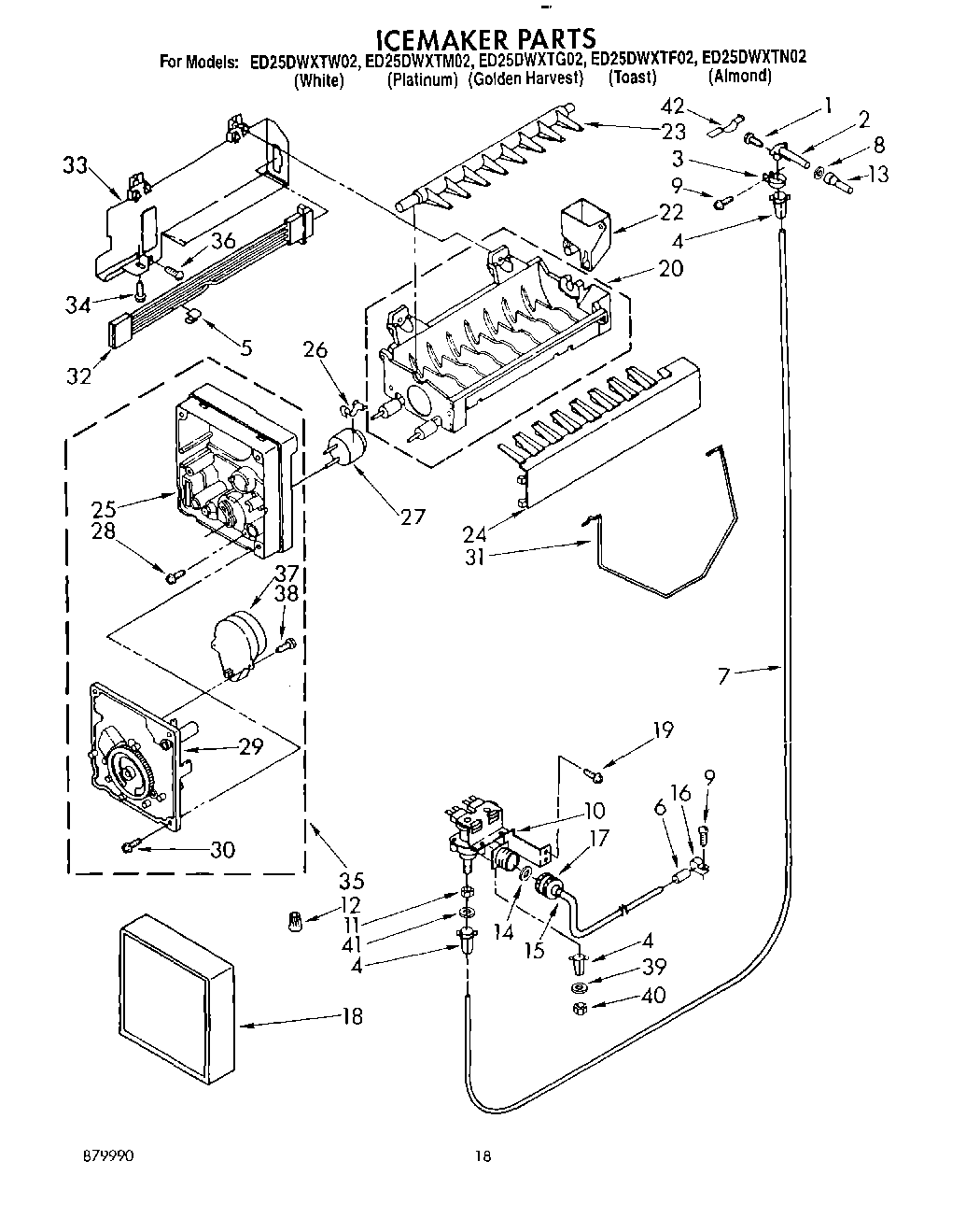
2WP2196157 Whirlpool Fill Tube
3WP488878 Whirlpool Refrigerator Tube Clamp
44387491 Whirlpool Refrigerator Insert
5WP628379 Whirlpool Refrigerator Clip
6WP2158826 Whirlpool Refrigerator Dampener
7W10823511 Whirlpool Refrigerator Water Tube
8WP1106508 Whirlpool Refrigerator Gasket
9WP489069 Whirlpool Compactor Screw
104318046 Whirlpool Dual Water Inlet Valve
11WP627018 Whirlpool Refrigerator Nut
12Wire Connector
13Tube, Water Inlet
14WP16123 Whirlpool Washer
15Tube, Inlet Valve
16Clamp Tube
17Nut, Valve
18Cover
19WPW10141625 Whirlpool Refrigerator Screw Assembly
20WPW10190929 Whirlpool Refrigerator Ice Maker Mold
22WP628356 Whirlpool Refrigerator Fill Cup
23WP627843 Whirlpool Refrigerator Ejector Arm
24WP2182124 Whirlpool Refrigerator Stripper Arm
25WP2195914 Whirlpool Refrigerator Ice Maker Housing
26WP2315522 Whirlpool Refrigerator Clip
27WP627985 Whirlpool Icemaker Cycling Thermostat
28Screw, 10-32 x 49/64
30WP681249 Whirlpool Screw Assembly
31W11342242 Whirlpool Refrigerator Ice Level Arm
32WP2187464 Whirlpool Refrigerator Wire Harness
33Shield, Heat
34WP489128 Whirlpool Refrigerator Screw
35W10190935 Whirlpool Refrigerator Icemaker Motor Module Assembly
36Screw, 8-15 x 1/2 (4)
38489136 Whirlpool Refrigerator Screw
39``O`` Ring Seal
40Nut, Compression
41``O`` Ring Seal (4)
42Almond (Uncut)
42350956 Whirlpool Spray Assembly
42Golden Harvest (Uncut)
42Transformer (115-230 Volt)
42Golden Harvest
42833938 Whirlpool Refrigerator Terminal
42Leveler (Thinner)
4272017 Whirlpool Appliance Touch-Up Paint White
42799344 Whirlpool Refrigerator Paint
42WP72107 Whirlpool Touchup
42Platinum (Uncut)
42Clip
42Toast
4272113 Whirlpool Touch-Up Paint
42WP542638 Whirlpool Refrigerator Grease
42WP505587 Whirlpool Refrigerator Sealer
4272110 Whirlpool Dryer Touch-Up Paint, Golden Harvest 6 Oz
42876370 Whirlpool Refrigerator Insulation
42606755 Whirlpool Refrigerator Bag
42511873 Whirlpool Refrigerator Paint
42350942 Whirlpool Spray Paint
42212643 Whirlpool Refrigerator Permagum Sealer
42TAPE, VINYL (3/4 X 108``)
42CEMENT, ALUMILASTIC (1 1/4 OZ.)
4272032 Whirlpool Touch Up Paint Black
42285006 Whirlpool Spray
42Paint, Spray (13 Oz.) (Platinum)
42Enamal, Toast (1 Qt. Uncut)
42WPL 72112
42WP503695 Whirlpool Refrigerator Sealer
42WPL 876029
42WPL 799833
42Enamel, Black (1 Qt. Uncut)
42350930 Whirlpool White Spray Paint