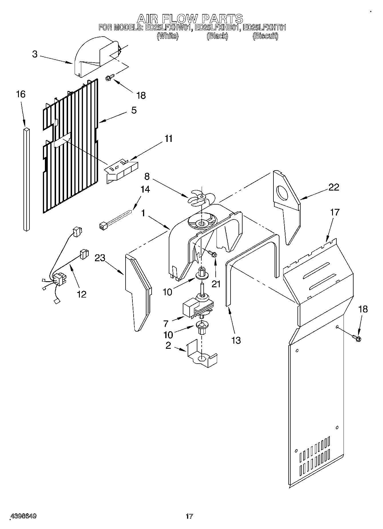
ED25LFXHB01 10 – AIR FLOW