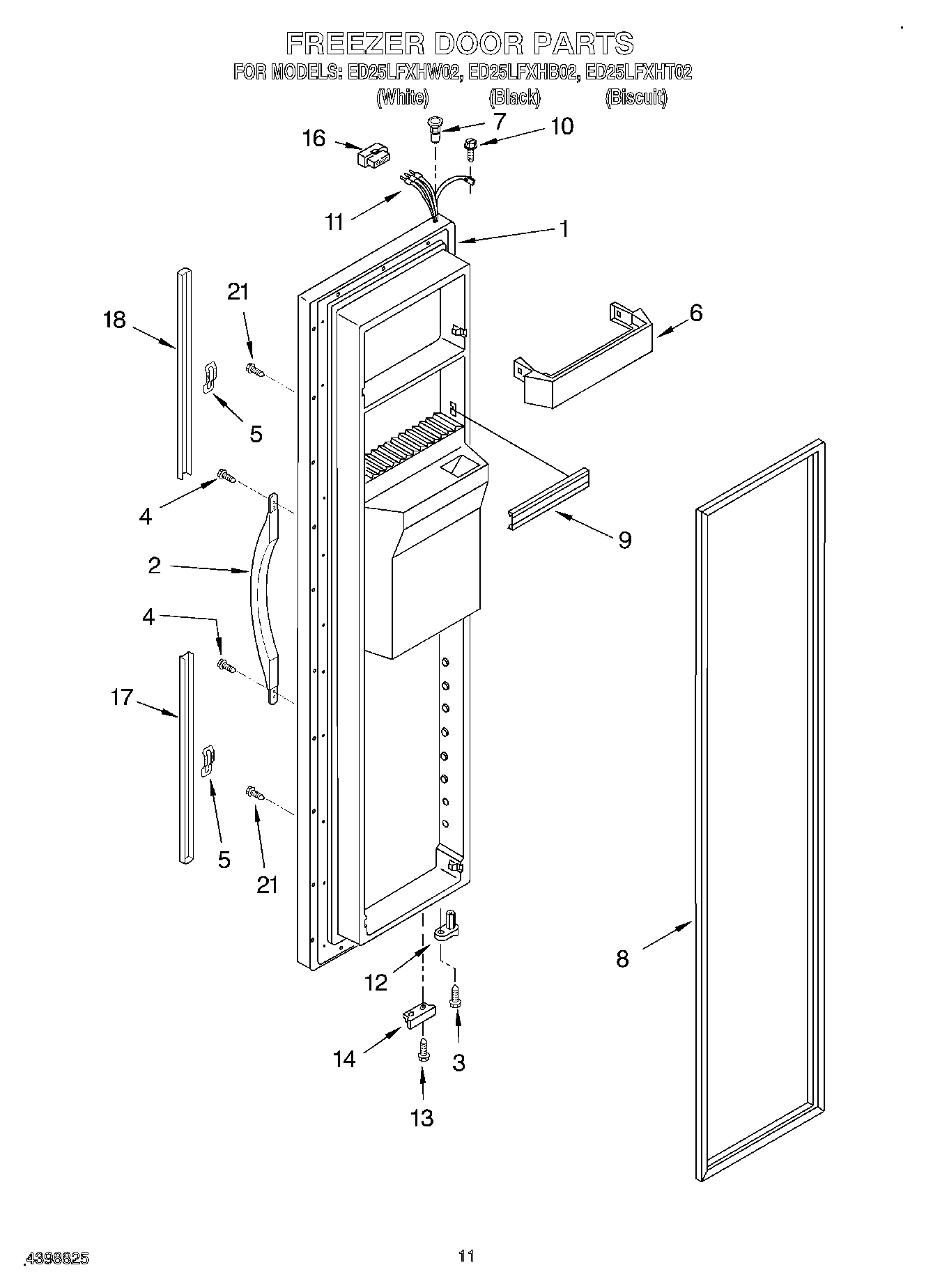
ED25LFXHW02 07 – FREEZER DOORadmin2025-04-26T09:50:42+00:00ED25LFXHW02 07 – FREEZER DOOR ProductsPositionProduct1Freezer Door (Includes Item No.8 And Dispenser Front Parts) (White)1Freezer Door (Includes Item No.8 And Dispenser Front Parts) (Biscuit)1Freezer Door (Includes Item No.8 And Dispenser Front Parts) (Black)2Handle, Center (White)2WP2186649B Whirlpool Refrigerator Handle2Handle, Center (Biscuit)3WP3400012 Whirlpool Refrigerator Screw4WP489491 Whirlpool Refrigerator Screw5WP2195327 Whirlpool Refrigerator Clip6WP2171157 Whirlpool Shelf Trim7WP2182181 Whirlpool Refrigerator Thimble82159082 Whirlpool Freezer Door Gasket Black82159074 Whirlpool Door Gasket Seal9WPW10307490 Whirlpool Door Trim Assembly10WP489128 Whirlpool Refrigerator Screw11Wiring Harness12WP2182179 Whirlpool Cam Closer13WP489483 Whirlpool Screw14Bracket, Door Stop (Black)14Bracket, Door Stop (Chrome)16WP2154473 Whirlpool Refrigerator Connector17Extension, Bottom (White)17Extension, Bottom (Biscuit)17WP2194969B Whirlpool Refrigerator Handle Trim18WP2194973W Whirlpool Door Trim18Extension, Top (Biscuit)18Extension, Top (Black)21WP3400852 Whirlpool Refrigerator Screw