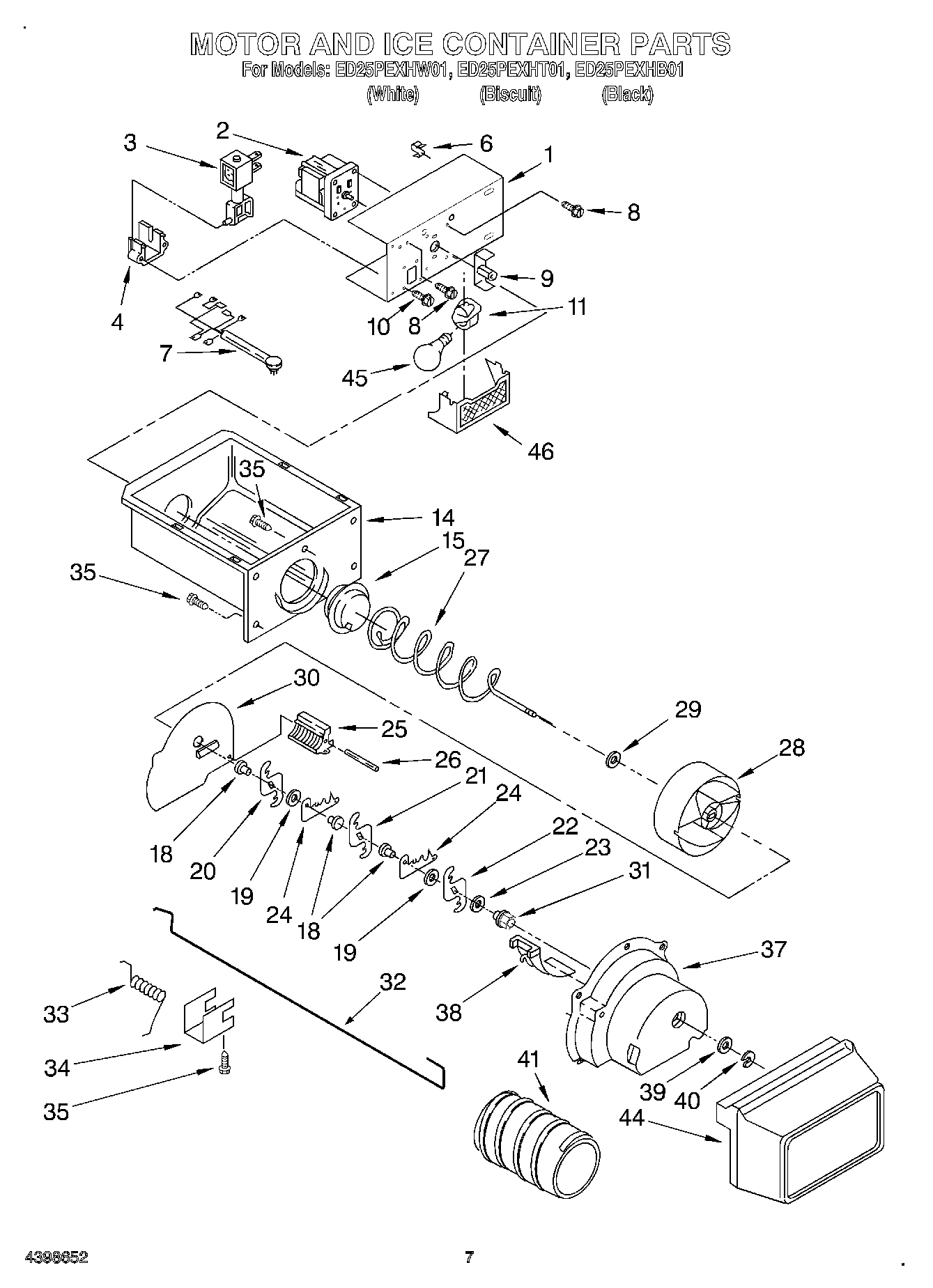
ED25PEXHT01 05 – MOTOR AND ICE CONTAINER

ED25PEXHT01 05 – MOTOR AND ICE CONTAINER

Products

PositionProduct
1Bracket, Motor
2WP2188242 Whirlpool Refrigerator Motor
3WP2152713 Whirlpool Refrigerator Solenoid
4W10850503 Whirlpool Refrigerator Guide
6WP1115374 Whirlpool Refrigerator Clip
7Wiring Assembly, Ice Dispenser
8WP489399 Whirlpool Refrigerator Screw
9COUPLING AUGER MOTOR
10WP489478 Whirlpool Refrigerator Screw
114387478 Whirlpool Refrigerator Light Socket
14WPW10670845 Whirlpool Refrigerator Ice Container
15W10749708 Whirlpool Refrigerator Coupling
18WP1119005 Whirlpool Refrigerator Spacer
19WP1119007 Whirlpool Refrigerator Spacer
20W10278731 Whirlpool Refrigerator Blade
21W10278732 Whirlpool Refrigerator Blade
22W10278733 Whirlpool Refrigerator Blade
23WP489235 Whirlpool Refrigerator Washer
24Blade, Fixed (2)
252157405 Whirlpool Refrigerator Blade Block
26489229 Whirlpool Refrigerator Roll Pin
27W10422851 Whirlpool Ice Maker Bucket Auger
284388736 Whirlpool Refrigerator Ice Dispenser Bucket Bin Conveyor Auger Drum
29WP3400912 Whirlpool Refrigerator Washer
30W10852691 Whirlpool Refrigerator Baffle
31WP1119018 Whirlpool Refrigerator Bearing
32W11596045 Whirlpool Refrigerator Control Arm
331119020 Whirlpool Refrigerator Spring
341119021 Whirlpool Refrigerator Clip
35WP488787 Whirlpool Refrigerator Screw
37WPW10185018 Whirlpool Refrigerator Housing
38WP1119017 Whirlpool Refrigerator Deflector
39489234 Whirlpool Refrigerator Washer
40WP489236 Whirlpool Refrigerator Ring
414317870 Whirlpool Refrigerator Auger Sleeve
44Front Cover, Ice Container
45RANGE ONLY 40W 120V APPL BULB
46WP2171706 Whirlpool Refrigerator Light Lens