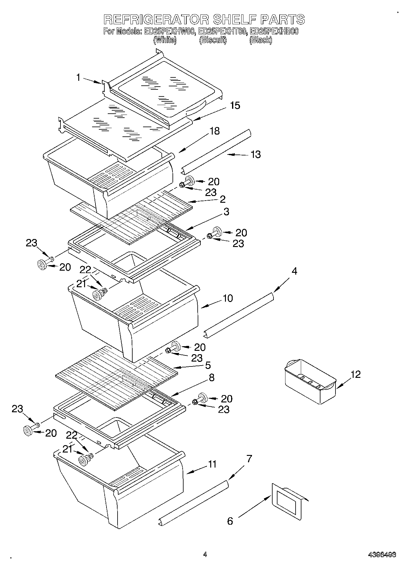
ED25PEXHW00 03 – REFRIGERATOR SHELFadmin2025-04-26T09:50:13+00:00ED25PEXHW00 03 – REFRIGERATOR SHELF ProductsPositionProduct1Shelf Assembly, Cantilever (2)2W10864399 Whirlpool Glass Shelf4Trim, Pan62179350 Whirlpool Refrigerator Deflector7WP2179234 Whirlpool Refrigerator Pan Trim8W10508993 Whirlpool Refrigerator Cover Pan10WP2188661 Whirlpool Crisper Pan11WP2188664 Whirlpool Dishwasher Meat Crisper Pan12W10136387A Whirlpool Refrigerator Egg Container13WP2179243 Whirlpool Refrigerator Pan Trim15Shelf, Snack Bin18W11497323 Whirlpool Snack Pan20WP2196483 Whirlpool Refrigerator Shelf Stud21W11223328 Whirlpool Refrigerator Shelf Stud22WP3400806 Whirlpool Screw