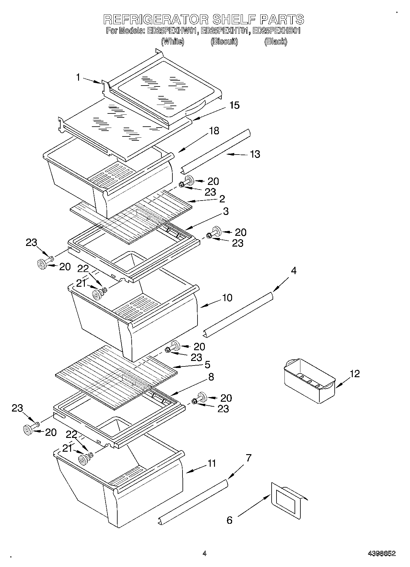
ED25PEXHW01 03 – REFRIGERATOR SHELF