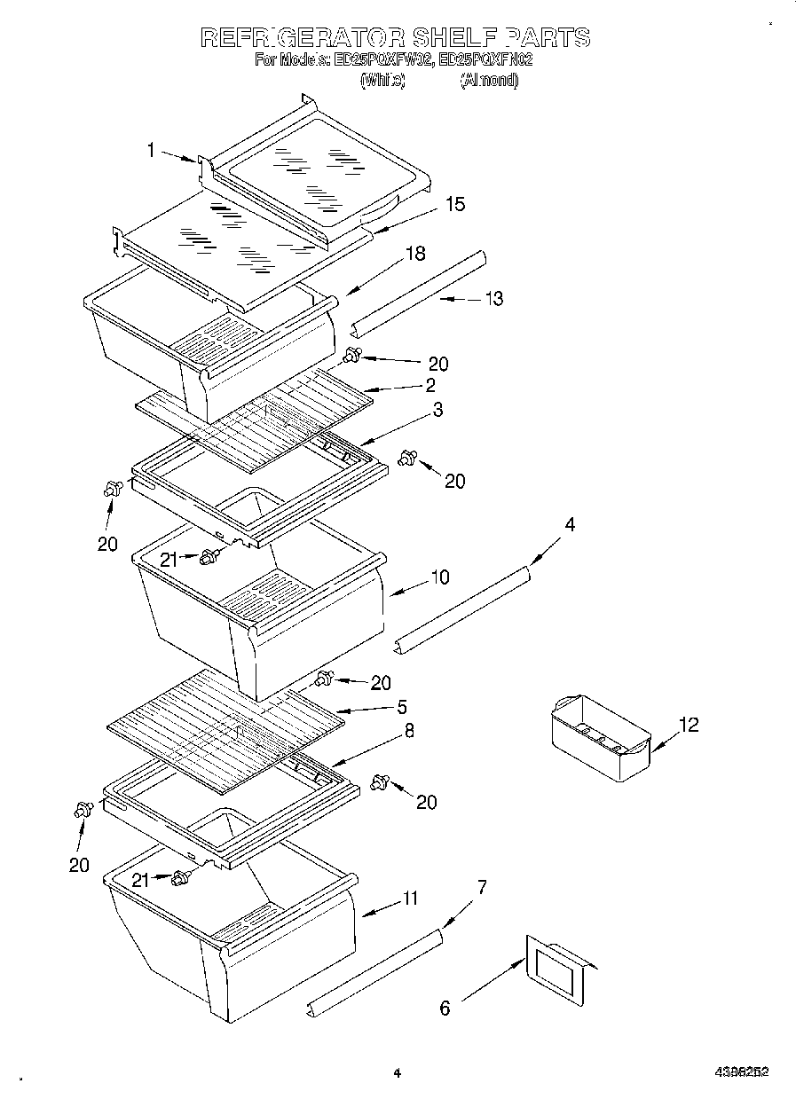
ED25PQXFN02 03 – REFRIGERATOR SHELF